EasyManua.ls Logo

Philips DVP3015K - Page 38

Philips DVP3015K
41 pages
Print Icon
To Next Page IconTo Next Page
To Next Page IconTo Next Page
To Previous Page IconTo Previous Page
To Previous Page IconTo Previous Page
Loading...
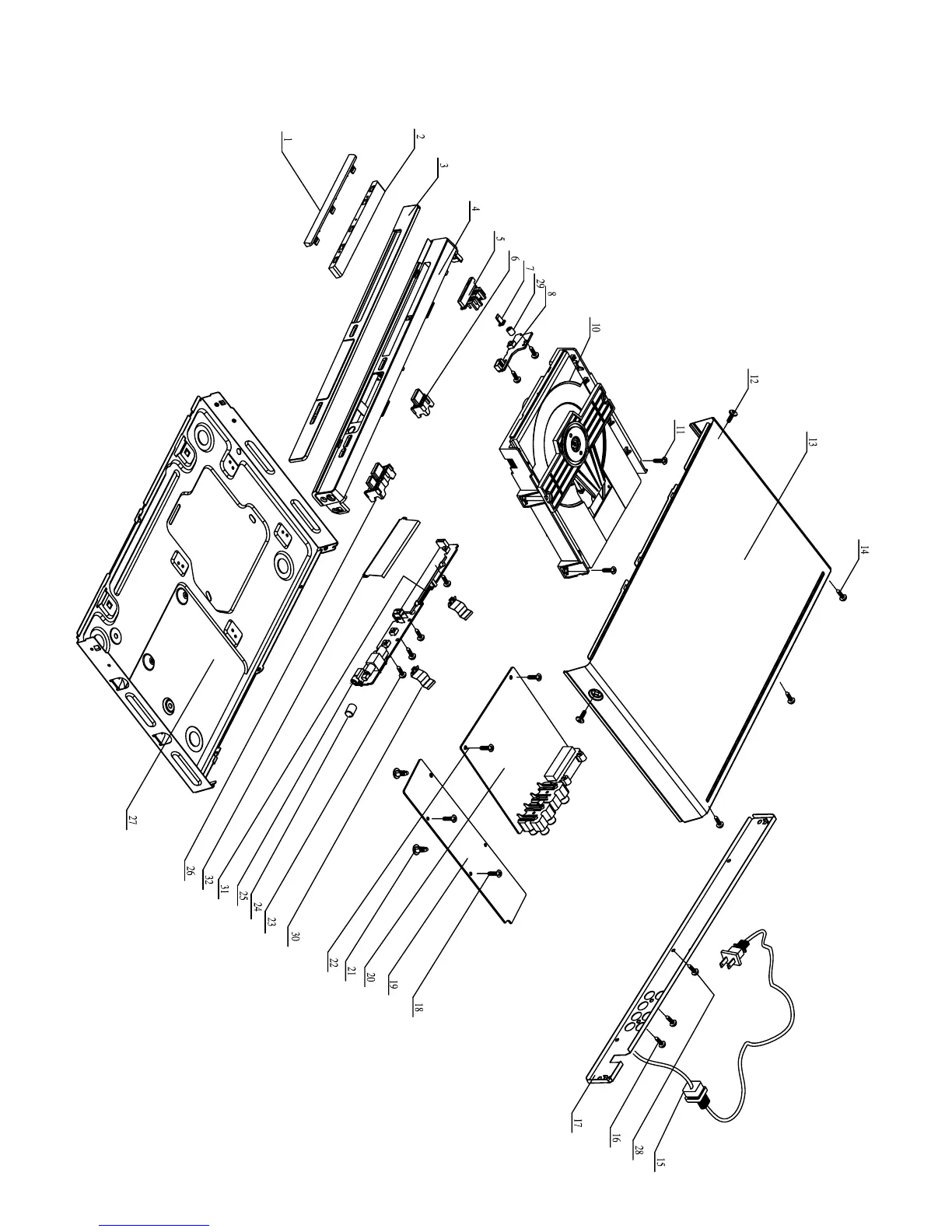
DVP3020(K)/3026(K)/3040(K)/3028/3042/3046 Mechanical Exploded View
7-5

Related product manuals