EasyManua.ls Logo

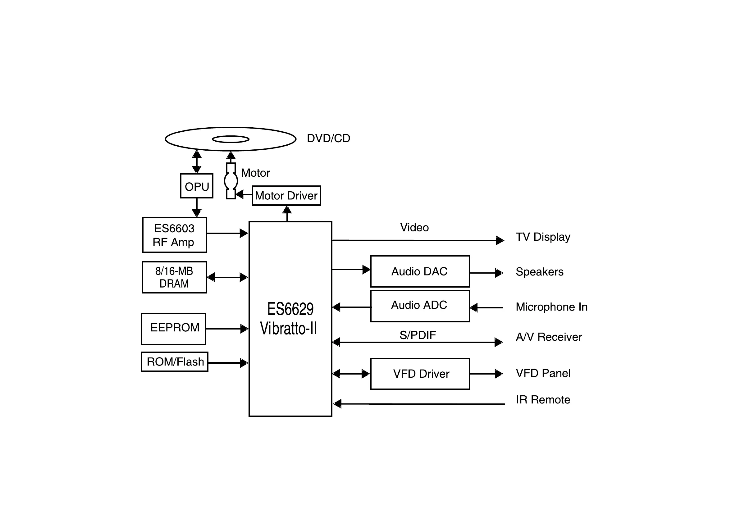
Philips FWD39/21 - System Block Diagram

Philips FWD39/21
51 pages
Print Icon
To Next Page IconTo Next Page
To Next Page IconTo Next Page
To Previous Page IconTo Previous Page
To Previous Page IconTo Previous Page
Loading...
SYSTEM BLOCK DIAGRAM
7-4
7-4

Other manuals for Philips FWD39/21

Related product manuals