EasyManua.ls Logo

Philips FWP3200D/12 - Page 36

Philips FWP3200D/12
53 pages
Print Icon
To Next Page IconTo Next Page
To Next Page IconTo Next Page
To Previous Page IconTo Previous Page
To Previous Page IconTo Previous Page
Loading...
8 - 4 8 - 4
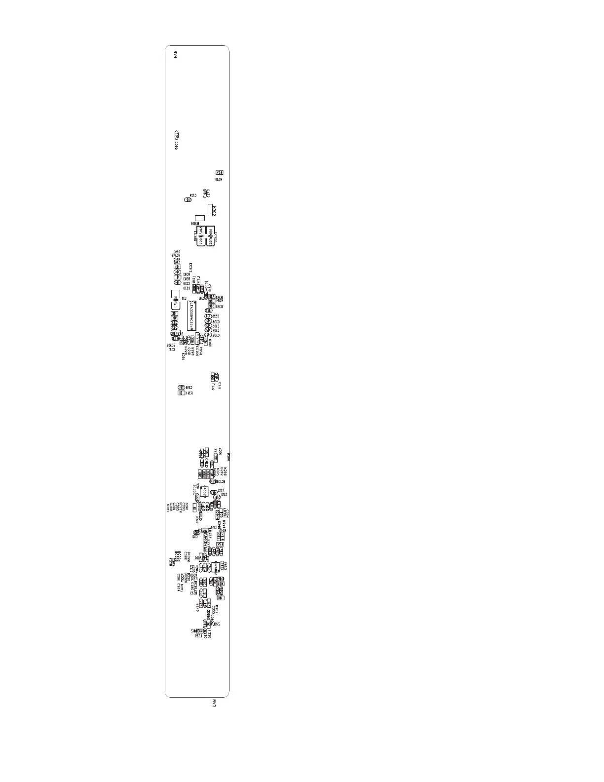
PCB LAYOUT BOTTOM VIEW
jomi

Related product manuals