EasyManua.ls Logo

Philips MC145 - Alignment Instructions; AM Alignment Procedures; FM Alignment Procedures; Cassette and CD Alignment

Philips MC145
24 pages
Print Icon
To Next Page IconTo Next Page
To Next Page IconTo Next Page
To Previous Page IconTo Previous Page
To Previous Page IconTo Previous Page
Loading...
2 - 3
AM I.F. ALIGNMENT
1. Set the POWER BUTTON to POWER "ON".
2. Set the FUNCTION SELECTOR SWITCH to RADIO & AM BAND.
3. Connect a SWEEPSCOPE OUTPUT to AM antenna terminal.
4. Connect a SWEEPSCOPE INPUT to pin 13 of IC1 through a 1uf capacitor and ground.
STEP SET SIGNAL SET DIAL ADJUST ADJUST FOR
1 450KHz GANG OPEN T1(AM IF)
CENTER
& MAXIMUM OUTPUT
AM R.F. ALIGNMENT
1. Connect an RF generator to a standard radiating loop.
2. Connect a SCOPE and VTVM across the speaker output.
STEP SET SIGNAL SET DIAL ADJUST ADJUST FOR
1 530KHz T2 (AM OSC COIL)
2 1700KHz CT1 MAXIMUM
3 612KHz 612KHz (AM SENS COIL) OUTPUT
4 1404KHz 1404KHz CT3 (AM SENS TRIM.)
5 REPEAT STEPS 3 AND 4 TO OBTAIN BEST TRACKING.
FM I.F. ALIGNMENT
1. Set the POWER SWITCH to POWER "ON".
2. Set the FUNCTION SELECTOR to RADIO & FM BAND.
3. Connect a SWEEPSCOPE OUTPUT to pin5 of IC001 through a 20pF capacitor and ground.
4. Connect a SWEEPSCOPE INPUT to pin16 or 17 of IC001 through a 1uf capacitor and ground.
STEP SET SIGNAL SET DIAL ADJUST ADJUST FOR
1
10.7MHz GANG OPEN CHECK
MAX.AMPLITUDE
BALANCED CURVE
FM R.F. ALIGNMENT
1. Connect an RF generator to the FM antenna terminal and ground.
2. Connect a SCOPE & VTVM across the speaker output.
STEP SET SIGNAL SET DIAL ADJUST ADJUST FOR
1 87.5MHz L3 (FM OSC COIL)
2 108MHz CHECK MAXIMUM
3 90MHz 90MHz L4 (FM RF COIL) OUTPUT
4 106MHz 106MHz CT2
5 REPEAT STEPS 3 AND 4 TO OBTAIN MAX ADJUST.
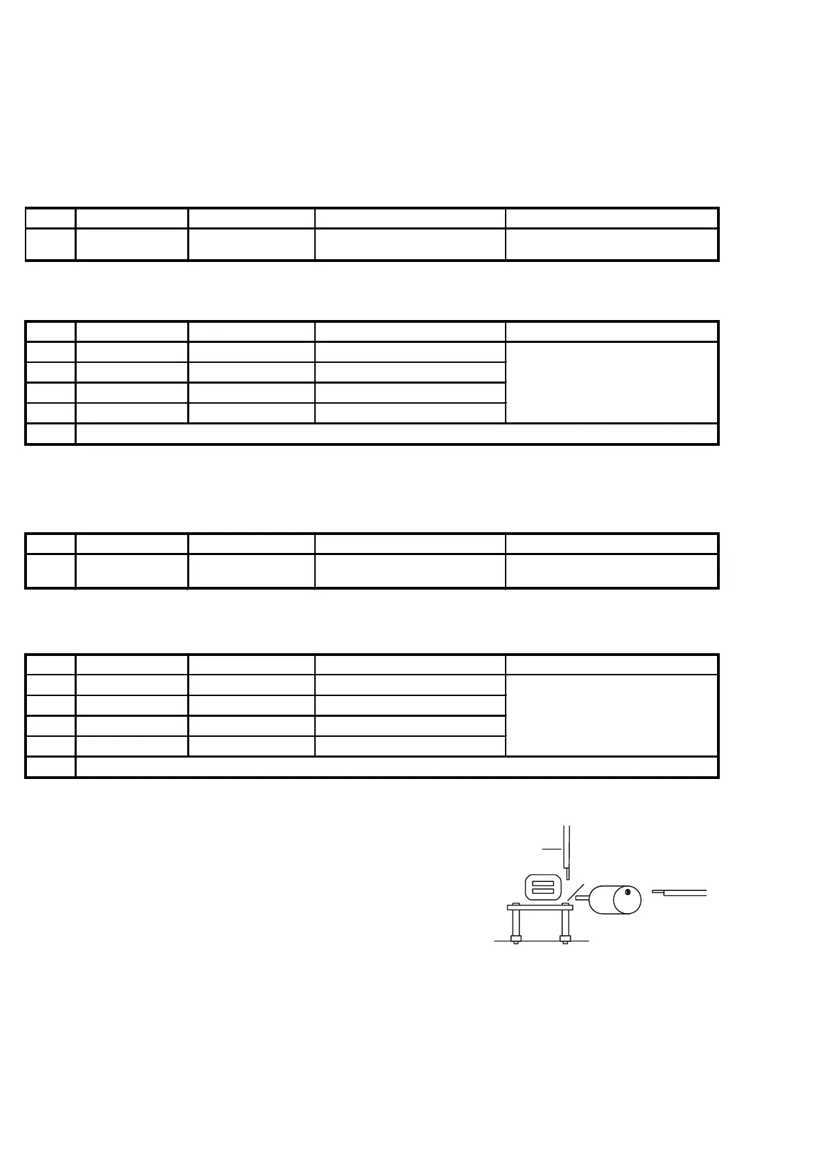
CASSETTE ALIGNMENT
1. Set the FUNCTION SELECTOR BUTTON TO TAPE.
2. Connect a Scope & VTVM across the speaker output.
3. Insert the 8KHz tape in to cassette deck and push play BUTTON.
4. ADJUST HEAD for speaker maximum output.
MOTOR
SCREWDRIVER
SCREWDRIVER
ADJUSTING
SCREW
CD ALIGNMENT
Auto alignment.
GANG OPEN
GANG CLOSED
GANG OPEN
GANG CLOSED
ALIGNMENT INSTRUCTION

Other manuals for Philips MC145

Related product manuals