EasyManua.ls Logo

PL-AUDIO D6K4 - Front Panel

Default Icon
13 pages
Print Icon
To Next Page IconTo Next Page
To Next Page IconTo Next Page
To Previous Page IconTo Previous Page
To Previous Page IconTo Previous Page
Loading...
The amplifier should never be operated
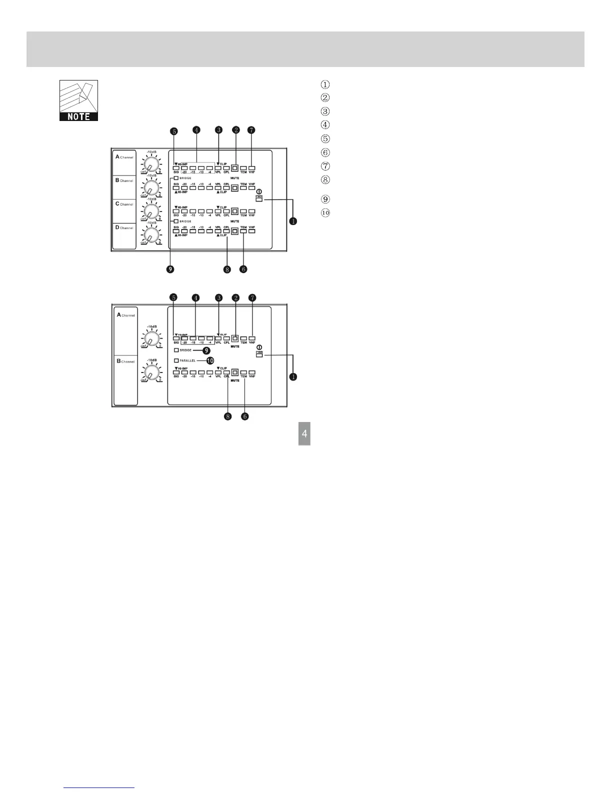
MUTE-Channel
mutes due to a fault condition(Red) without the dust-
filters in place.VPL-Voltage Peak Limiter(VPL) active
SIG-Signal levels -40dB(sig) to -4 dB
Front
Panel
LED
Field
HI-IMP-High impedance/open
load detected
TEM-Temperature mute(Yellow
constant)
VHF-Very High Frequency protection active(output mute)(Red constant)
CPL-Current Peak Limiter(CPL) active(Red flashing)
or Low impedance/short circuit fault detected(Red constant with output muted)
BRIDGE-Output in bridge mode
PARALLEL-Input in parallel mode