EasyManua.ls Logo

poclain hydraulics MS18 - Page 20

Default Icon
84 pages
Print Icon
To Next Page IconTo Next Page
To Next Page IconTo Next Page
To Previous Page IconTo Previous Page
To Previous Page IconTo Previous Page
Loading...
POCLAIN HYDRAULICS
20 DOC-REPAIR-MS02-MS18-FR-EN 677777845L
REGLAGE DU FREIN
Toutes traces de rouille,
boue, eau, colle, doit être
supprimée.
ADJUST THE BRAKE
All traces of rust, mud, wa-
ter or glue, must be re-
moved.
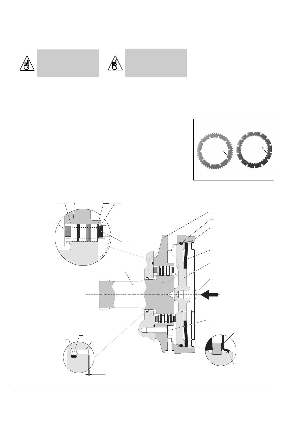
Monter le calage de compensa-
tion de couple (115) suivant version
(voir dessin 6736).
Huiler les disques neufs (utiliser
du fluide hydraulique).
Install the torque reduction
shims (115) according to the ver-
sion (see drawing 6736).
Oil the new discs (use hydraulic
fluid).
Commencer par monter un dis-
que extérieur (103), puis un disque
intérieur (104), puis alternativement
(103) et (104).
Le dernier disque à monter est
un disque extérieur (103).
Start by installing one external
brake disc (103), then one internal
brake disc (104), then alternately
(103) et (104).
The last brake disc must be an
external disc (103).
6736
0
110
+ 0,1
0
X
F
104
103
107
108
115
106
109
141
143
111.1
111.3
111.2
142
101
103
104
105
111
102
7159
104
103

Table of Contents

Related product manuals