EasyManua.ls Logo

Powermate PMi 2000 - Page 49

Powermate PMi 2000
128 pages
Print Icon
To Next Page IconTo Next Page
To Next Page IconTo Next Page
To Previous Page IconTo Previous Page
To Previous Page IconTo Previous Page
Loading...
-
49
Ne pas dépasser la limite de courant indiquée pour la prise.
Ne pas brancher le moteur sur le circuit domestique, sous peine de risquer
d'endommager l'un ou l'autre.
Ne pas modifier le moteur pour quelque motif que ce soit.
Respecter les directives suivantes :
Si vous devez allonger le câble, utilisez du câble souple gainé de
caoutchouc (selon IEC245 ou autre norme).
Contraintes de longueur du câble allongé : 60 mètres pour les câbles de 1,5
mm
2
, 100 mètres pour les câbles de 2,5 mm
2
. Si le câble est trop long, sa
résistance interne devient si importante que la puissance électrique
applicable diminue.
Tenir le groupe électrogène à distance des autres fils et câbles comme les
circuits d'alimentation électrique d'entreprises.
Danger :
Les sorties de courant alternatif et continu peuvent être utilisées
simultanément. Dans ce cas, assurez-vous que la puissance électrique
totale ne dépasse pas la somme des courants alternatif et continu.
Attention ! Le courant de démarrage de la plupart des équipements
électriques est supérieur à la puissance nominale.
Emploi du courant alternatif
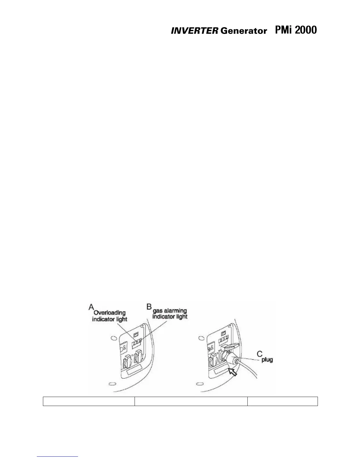
1 Démarrer le moteur et vérifier que le voyant (vert) s'allume.
2 Vérifier que l'interrupteur de l'équipement électrique à utiliser est sur arrêt et
le brancher sur le groupe.
3 Allumer l’équipement.
A- Voyant de surcharge
B- Voyant de niveau d'essence
C- Prise 220V
Attention :

Related product manuals