EasyManua.ls Logo

Powermate V6548049 - Parts Drawing - B4900 Pump; B4900 Pump Specifications

Powermate V6548049
12 pages
Print Icon
To Next Page IconTo Next Page
To Next Page IconTo Next Page
To Previous Page IconTo Previous Page
To Previous Page IconTo Previous Page
Loading...
4 200-2405
Torque Torsión hasta
(in–lbs) (N–m)
40-50 . . . . . 4,5-5,6
50-115 . . . . . 5,6-12,9
185-235 . . . . . 20,9-26,5
200-240 . . . . . 22,5-27,0
335-350 . . . . . 37,7-39,4
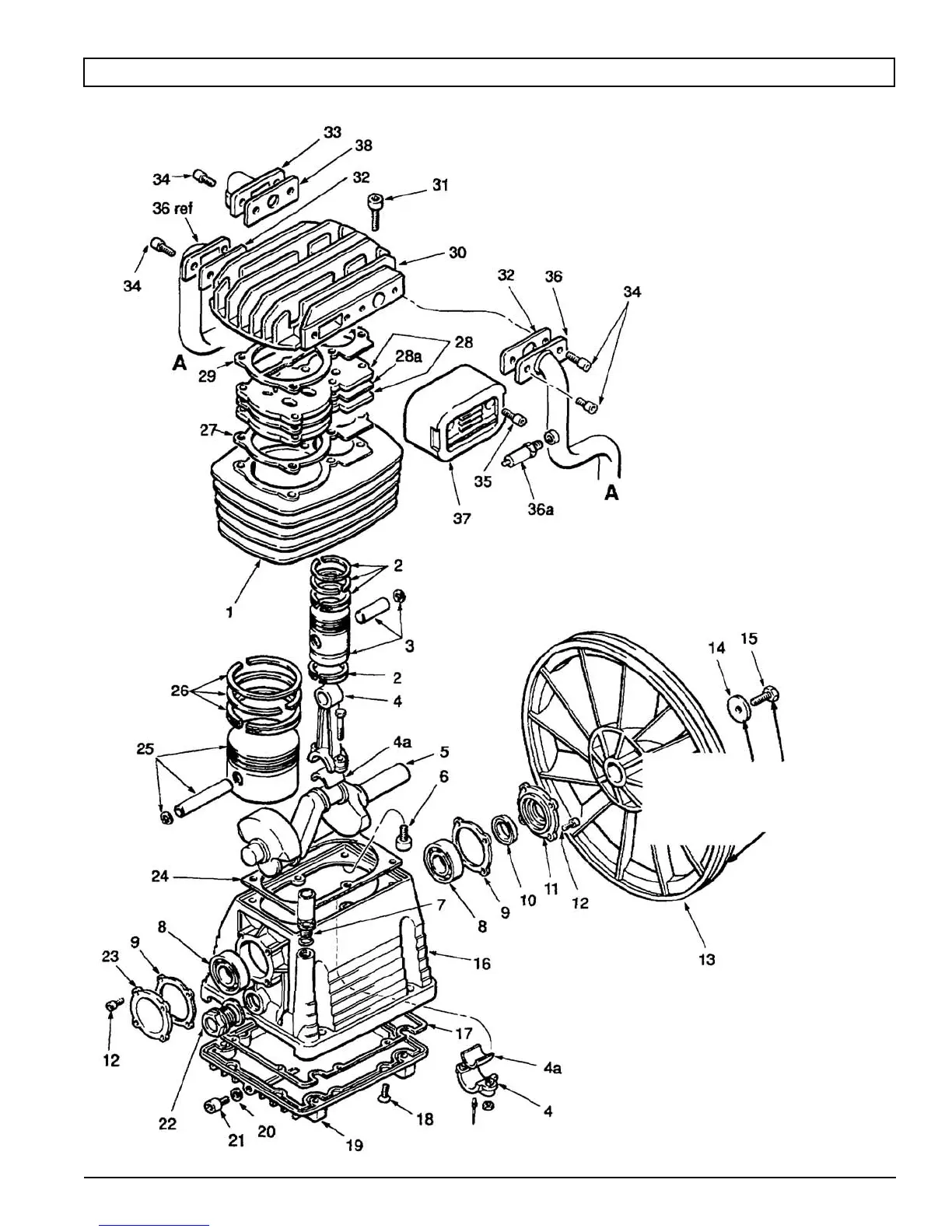
PUMP
SPECIFICATIONS
Weight – 29 lbs.
Oil Grade – SAE 40
Capacity – 44 oz.
Max. RPM – 1450
NOTE: Item 6 from page 2 must be
assembled or disassembled with item 33.
Apply Loctite # 510 to both surfaces when
replacing #38.
Torque to
200-240
in–lbs
Torque to
335-350
in–lbs
Torque to
165-230
in–lbs
Torque to
200-240
in–lbs
Torque to
185-235
in–lbs
Torque to
200-240
in–lbs
Torque to
50-115
in–lbs
Torque to 200-240
in–lbs
Torque to 40-50
in–lbs
Torque to
50-115
in–lbs
(must be purchased separately)
(doit être acheté séparément)
(se debe comprar por separado)
PUMP B4900, MODEL 040-0205
PARTS DRAWING / DESSIN DES PIÈCES / ESQUEMA DE LA PIEZAS

Related product manuals