EasyManua.ls Logo

Powermate VX BNCS2P - Nail Loading; Removing the Nails; Methods of Operation

Powermate VX BNCS2P
11 pages
Print Icon
To Next Page IconTo Next Page
To Next Page IconTo Next Page
To Previous Page IconTo Previous Page
To Previous Page IconTo Previous Page
Loading...
6- ENG LISH
c. Remove the finger from the trigger.
Tool operation will end (the driver blade will return to
the top).
6. If no abnormal operation is observed, you may load nails
in the tool. Drive nails into the workpiece that is the same
type to be used in the actual application.
• THE TOOL MUST OPERATE PROPERLY.
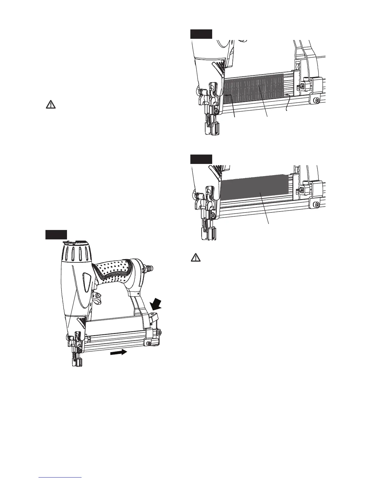
NAIL LOADING
WARNING
When loading the tool’s magazine, check that the nail
tips contact the wear rail and slide smoothly against
the surface of the magazine. If the nails are not loaded
properly, the tool will misfire and nails can be deflected,
causing the tool to react in an unexpected manner, and
damage the tool.
1. Connect air supply.
2. Push magazine latch and pull magazine to open position
(FIG 7).
3. See tool specification to determine appropriate nail
sizes. Insert appropriate nail strips, with the nail tips
contacting the wear rail (FIG 8).
4. Push the nail strip against the nose.
5. Push magazine fully closed. Magazine latch will maintain
fully closed position.
FIG. 7
Pull Open
Press
FIG. 8
Push
Against
Nose
Nail Tips Contact
Wear Rail
“F” Nail
18 Ga.
FIG. 9
Staple 18 Ga.
WARNING:
KEEP THE TOOL POINTED AWAY FROM YOURSELF AND
OTHERS WHEN LOADING FASTENERS. FAILURE TO DO SO
COULD RESULT IN POSSIBLE SERIOUS PERSONAL INJURY.
NEVER LOAD FASTENERS WITH THE WORKPIECE CONTACT
OR TRIGGER ACTIVATED. DOING SO COULD RESULT IN
POSSIBLE SERIOUS PERSONAL INJURY.
REMOVING THE NAILS
1. Disconnect air supply.
2. Push magazine latch and pull magazine to open position
(FIG 7).
3. Grasp the head of the nail strip and remove from
magazine.
METHODS OF OPERATION
This tool is equipped with the safety and does not operate
unless the safety is depressed.
There are two methods of operation to drive nails with this
tool. They are:
1. Sequential fire
2. Contact fire (red trigger)