EasyManua.ls Logo

Pramac S2800 - S2800 Wiring Schematic

Pramac S2800
44 pages
Print Icon
To Next Page IconTo Next Page
To Next Page IconTo Next Page
To Previous Page IconTo Previous Page
To Previous Page IconTo Previous Page
Loading...
17
0069439
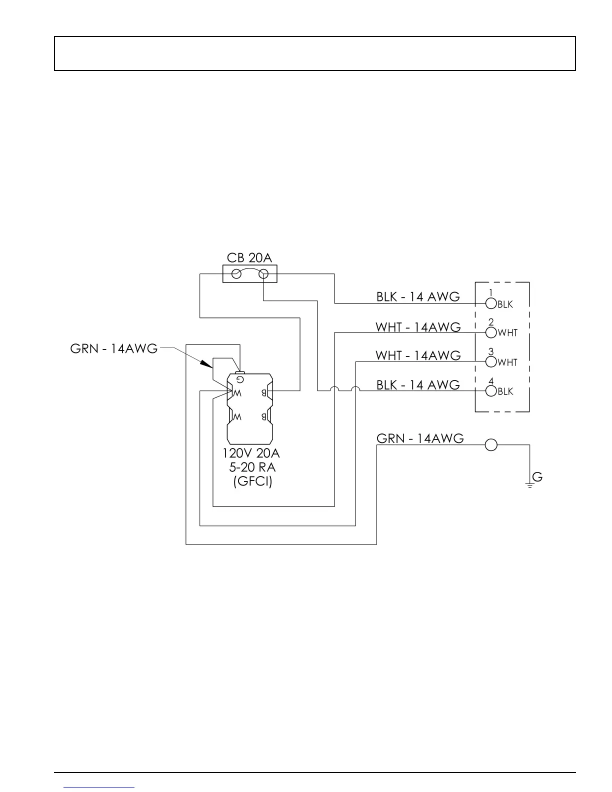
S2800 WIRING SCHEMATIC / SCHÉMA ÉLECTRIQUE D'INSTALLATION / ALAMBRADO
ESQUEMATICO

Table of Contents

Related product manuals