EasyManua.ls Logo

Precor GluteBuilder GPL551/DLE - Page 23

Precor GluteBuilder GPL551/DLE
28 pages
Print Icon
To Next Page IconTo Next Page
To Next Page IconTo Next Page
To Previous Page IconTo Previous Page
To Previous Page IconTo Previous Page
Loading...
Assembly
23
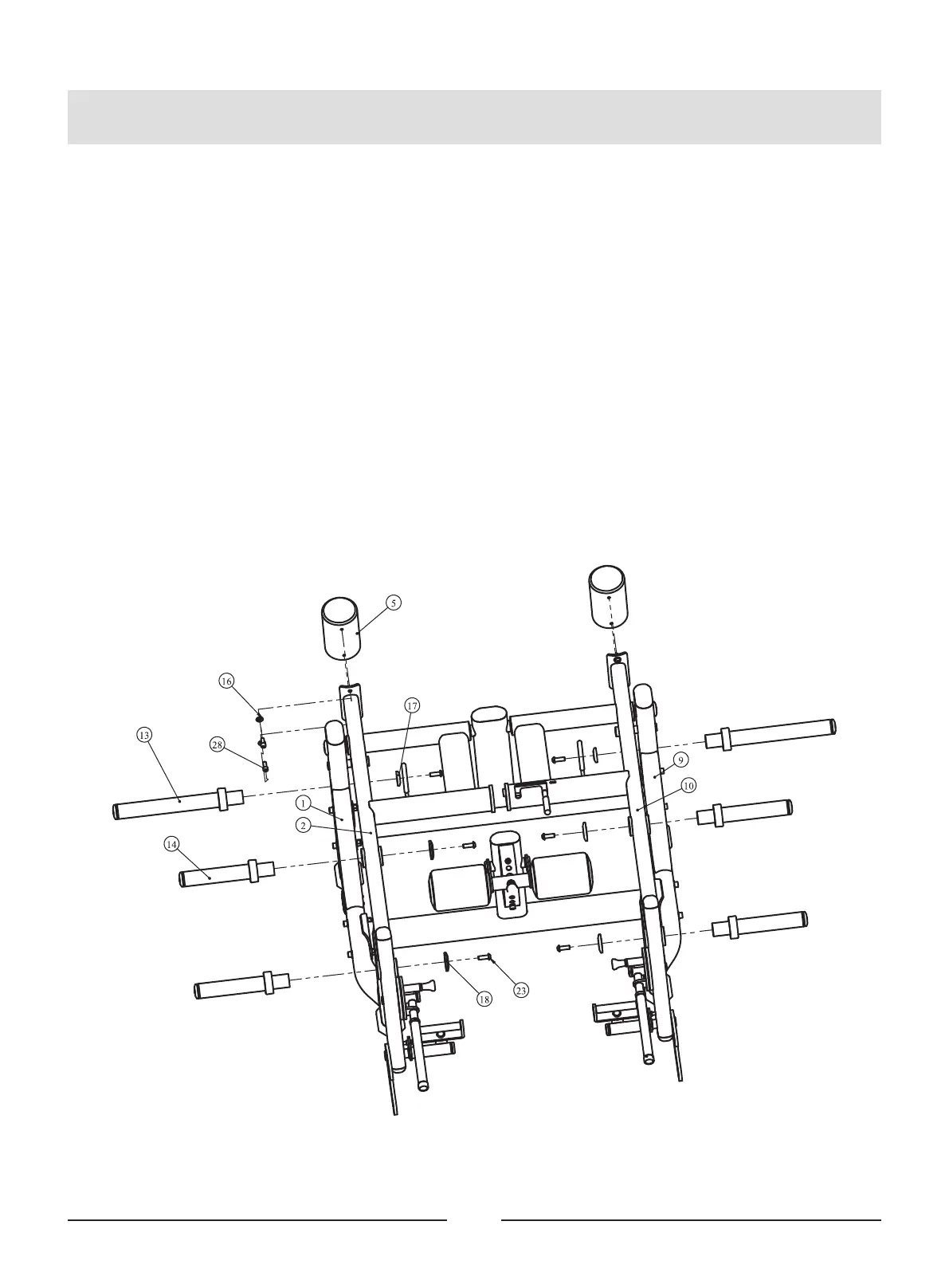
STEP 4
1. Attach two Barbell Storage Frame ASSY (#13) to one Frame I ASSY (#1) and one
Frame II ASSY (#9), using:
two Φ49 Aluminium Cap (#17)
two M12*35 Button Head Cap Screw (#23)
2. Attach four Barbell Frame ASSY (#14) to one Movable Support Frame I ASSY (#2) and
one Movable Support Frame II ASSY (#10), using:
four Φ63 Aluminium Cap (#18)
four M12*35 Button Head Cap Screw (#23)
3. Attach two Balanced Iron (#5) to one Movable Support Frame I ASSY (#2) and one
Movable Support Frame II ASSY (#10), using:
four Φ11*Φ23*2 Flat Washer (#16)
four M10*25 Socket Head Cap Screw (#28)
Note: Wrench Tighten Bolts.

Related product manuals