EasyManua.ls Logo

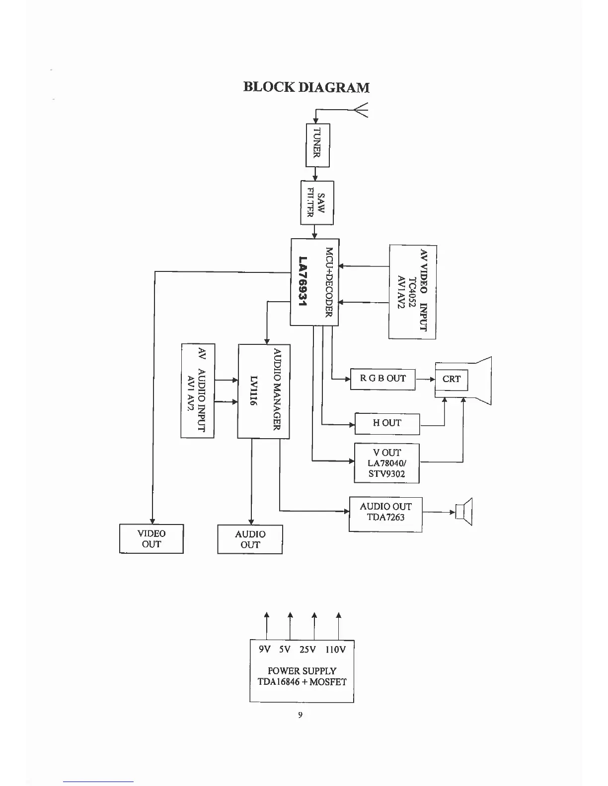
Premier ctv-2641sr - System Block Diagram; Key Functional Blocks

Premier ctv-2641sr
29 pages
Print Icon
To Next Page IconTo Next Page
To Next Page IconTo Next Page
To Previous Page IconTo Previous Page
To Previous Page IconTo Previous Page
Loading...