EasyManua.ls Logo

Pride Mobility 44E - Page 27

Pride Mobility 44E
32 pages
Print Icon
To Next Page IconTo Next Page
To Next Page IconTo Next Page
To Previous Page IconTo Previous Page
To Previous Page IconTo Previous Page
Loading...
27
What if all the systems on my Travel Scooter seem to be “dead”?
Make certain that the key is in the “on” position.
Check that the batteries are fully charged.
Push in the main circuit breaker reset button. See II. “Your Travel Scooter.”
Make certain that the battery pack is seated properly.
Make certain that the battery and front-to-rear harnesses are connected properly (Models 36, 83, and 84 only).
Be sure the power down timer feature has not been activated. See IV. “Operation.”
Check the tiller console fuse located under the battery pack.
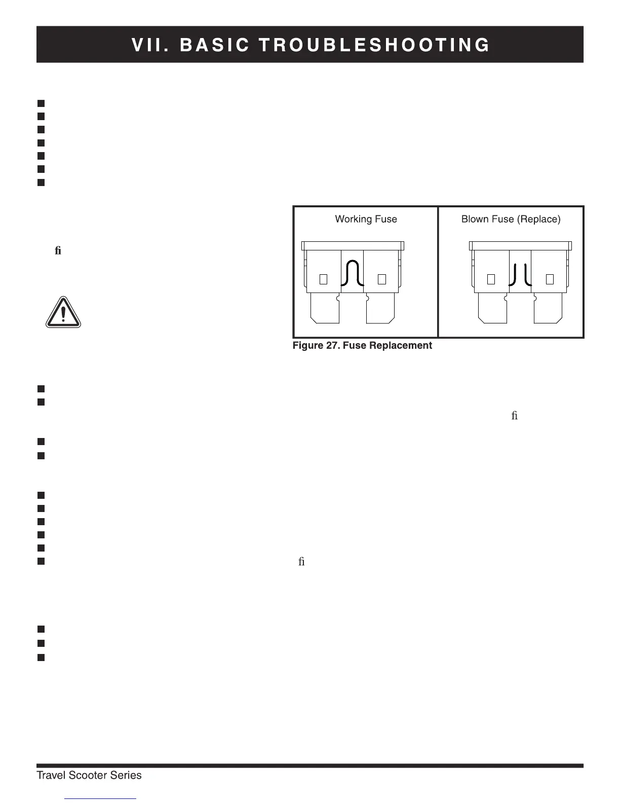
To check a fuse:
1. Remove the fuse by pulling it out of its slot.
2. Examine the fuse to be sure it is blown. See
gure 27.
3. Insert a new fuse of the proper rating.
WARNING! The replacement
fuse must exactly match the
rating of the old fuse. Failure to
use properly rated and approved
fuses may cause damage to the
electrical system.
What if the Travel Scooters batteries won’t charge?
Check the fuse located on the battery pack or the console. Replace if necessary.
During the charging process, if the charger LEDs never indicate a full charge, check the fuse located on the
battery pack or the console. Replace if necessary, or have your authorized Provider or quali ed technician
check and/or replace the fuse.
Ensure both ends of the charger power cord are connectly properly.
If the battery pack fuse continually blows, contact your authorized Provider for service.
What if the main circuit breaker repeatedly trips?
If the main circuit breaker trips repeatedly, see your authorized Provider for service.
Charge the Travel Scooters batteries more frequently. See III. “Batteries and Charging.”
If the problem continues, have both of your Travel Scooters batteries load tested by your authorized Provider.
You may also perform the load test yourself. Battery load testers are available at most automotive parts stores.
Follow the directions supplied with the load tester.
See III. “Batteries and Charging” or “Product Speci cations Sheet” for information about your Travel Scooters
battery type.
What if the battery condition meter dips way down and the motor surges or hesitates when I press the
throttle control lever?
Fully charge your Travel Scooters batteries. See III. “Batteries and Charging.”
Have your authorized Provider load test each battery.
Or, see the previous troubleshooting question for load testing the batteries yourself.
If you experience any problems with your Travel Scooter that you are not able to solve, immediately contact your
authorized Provider for information, maintenance, and service.

Related product manuals