EasyManua.ls Logo

Pride Outlander Series - Page 12

Pride Outlander Series
51 pages
Print Icon
To Next Page IconTo Next Page
To Next Page IconTo Next Page
To Previous Page IconTo Previous Page
To Previous Page IconTo Previous Page
Loading...
12
www.pridemobility.com Outlander
III. INSTALLATION
6. Install the wheel chocks to the lift platform. Refer to “Wheel Chock Installation.”
Wiring Harness Installation
The wiring harness is approximately 25 ft. (7.62 meters) long and will accommodate most vehicles.
NOTE: You may wish to perform a practice run before installing the wiring harness. Route a piece of
light rope (equivalent to the gauge of the wiring harness) along the anticipated path observing contact
points, potential rubbing/chafing points, and any sharp edges. Remove sharp edges with a fine grade
file, then treat the steel with a rust inhibitor or metal sealant.
Follow these steps to route the lift system wiring harness:
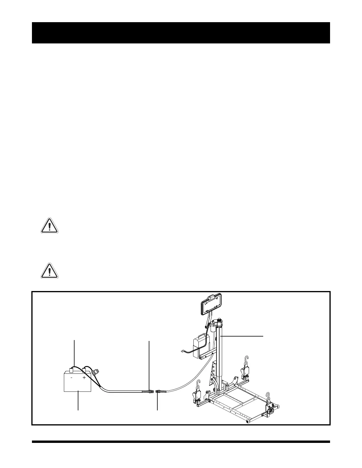
1. Route the lift system wiring harness (starting at the lift) through the interior of the vehicle until you
reach the vehicle battery. See figure 7. You will typically find pass-through points at the rear lighting
assemblies, which will enable you to route the cable through the trunk and under the back seat.
2. Conceal the harness behind or under the interior panels of the vehicle (there should be existing holes).
Be certain that the harness is protected with a rubber grommet when passing it through the metal panels
and into the engine compartment.
3. Inside the engine compartment, secure the harness to the firewall and the inner fender with plastic wire
ties. Use care not to cause abrasions to the wiring harness. It is important to secure the wiring harness
at various points along its run of the vehicle.
WARNING! Do not cut or shorten the wiring harness. If the harness is too long, coil the
excess wire and secure it with plastic wire ties.
4. Connect the red wire to the positive (+) terminal and the black (grounding) wire to the negative (-)
terminal of the vehicle battery.
WARNING! Before operating the lift, inspect the wiring harness for proper routing and
grounding. Improper routing can cause damage to the harness, and improper grounding
can cause damage to the electrical system.
Figure 7. Wiring Harness Installation
VEHICLE BATTERY
WIRING HARNESS
LIFT FRAME
GROUNDING WIRE
LIFT WIRING CONNECTION

Related product manuals