EasyManua.ls Logo

Prima LPR 720 - The Control Panel; Control Panel Components Overview

Prima LPR 720
30 pages
Print Icon
To Next Page IconTo Next Page
To Next Page IconTo Next Page
To Previous Page IconTo Previous Page
To Previous Page IconTo Previous Page
Loading...
6
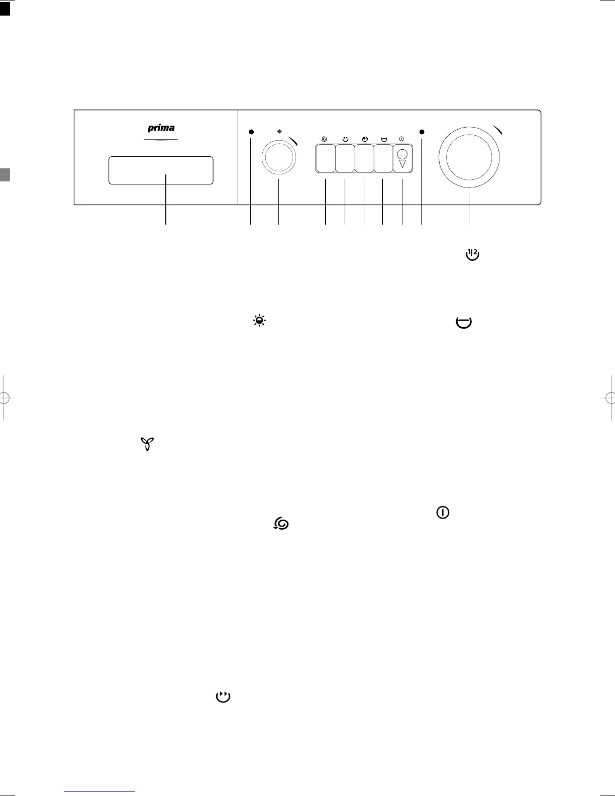
The Control Panel
6 HALF LOAD button
Select this button to reduce water consumption on the
rinse cycle when washing a smaller load of cottons or
linens (maximum load size = 2.25 kg).
7 Rinse Hold button
Press this button to make the machine stop with water in
the drum after the cotton, synthetic or delicate wash
cycles.
This prevents any creasing which may occur if the
clothes are left damp in the drum. When it is convenient
for you to empty the machine, simply press this button
again so that the machine can proceed to drain and spin,
or select the drain programme “R”.
If this button is not activated, the washing programmes
will end with a spin.
The RINSE HOLD option must not be depressed
when using NON-STOP operation (automatic
washing & drying).
8 ON/OFF button
By depressing this button the machine starts operating.
When depressing it again, the machine stops.
The push button is provided with a child-proof safety
lock. Move the small slider placed in the middle of the
button downwards to lock the button in the «off» position.
9 Mains-on light
This light will illuminate when the machine starts
working and goes out when the ON/OFF button is
depressed again to switch the machine off.
10 Programme selector dial
With the programme selector dial you choose the
desired washing and drying programme. Turn it
clockwise. Depress the dial to pop it out.
Before setting the dial to any position the machine must
be switched off by depressing the ON/OFF button.
1 Detergent dispenser drawer
2 Drying indicator light
This light illuminates when the machine is drying.
3 Drying time selector dial
Graduated up to 120 mins for cottons and synthetics, this
dial allows you to select the desired drying time
according to the type and quantity of laundry and the
required degree of dryness:
- Red sector for cottons
- Black sector for synthetics
Turn the dial clockwise only.
Depress the dial to pop it out.
Cooling phase
To allow the laundry to cool down, a cooling phase starts
automatically 10 minutes before the end of drying and
this phase must in no circumstances be reduced or
interrupted.
4 Spin speed reduction button
By depressing this button the spin speed is reduced as
follows:
- cotton & linen: (prog. A, B, C, D and F) from 1200
rpm to 650 rpm;
- synthetics and wool : (prog. H, J, K and M) from
850 rpm to 650 rpm.
- delicates: (prog. N, P and Q) from 650 rpm to 450
rpm.
Important!
In order to save energy and to avoid too long drying
times we suggest not to reduce the spin speed when you
wash and dry automatically.
5 Quick wash button
By depressing this button on programmes A, B, C, D
and H the wash time is reduced.
This is suitable only for garments which are lightly soiled.
12345678910
1200
AUTOWASH
QUICK
WASH
RINSE
HOLD
HALF
LOAD
SPIN
REDUCTION
PROGRAMMES
LPR 720
ON/OFF
132992180.qxd 4/2/03 9:05 AM Pagina 6 (Nero/Process Black pellicola)

Table of Contents

Related product manuals