EasyManua.ls Logo

PRO-PULSE PNT138 - Setup & Operation

PRO-PULSE PNT138
Print Icon
To Next Page IconTo Next Page
To Next Page IconTo Next Page
To Previous Page IconTo Previous Page
To Previous Page IconTo Previous Page
Loading...
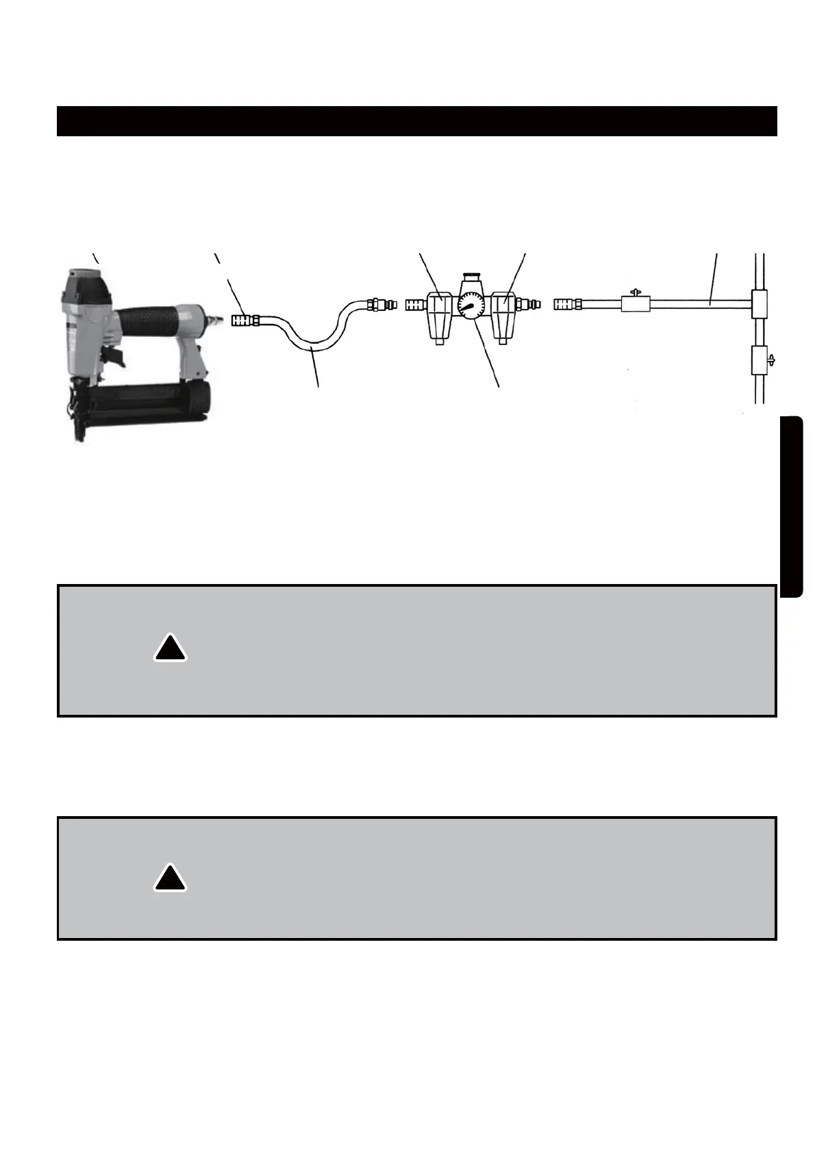
Nailer
Quick Connector
Oiler
Filter Air Supply
Air Hose Regulator
15
ENGLISH
LOADING THE FASTENERS
Disconnect the tool from the air supply. Do not load or adjust the tool if it is 1.
connected to the air supply.
Depress the FIXED LEVER (B, fig.1) to release the MOVABLE MAGAZINE2.
(C, fig.1) and pull the magazine out fully as shown.
Place a full stick of the desired type and size of fasteners on the FIXED 3.
MAGAZINE (D, fig.1). Up to 100 fasteners can be loaded in the magazine.
AIR SYSTEM
Brad nailer/stapler is designed to operate on clean, dry, compressed air,
regulated at 70-110 PSI. The preferred system would include a filter, a pressure
regulator, and an automatic oiler located as close to the tool as possible
(within 15 feet (4.5m) is ideal). Do not use bottled air or gases. Please see
figure below:
All compressed air contains moisture and other contaminants that can harm
the internal components of the tool. An air line filter will remove most of
these and significantly extend the life of the tool. Ensure the in-line oiler has
sufficient oil. If an in-line oiler is not available, place 2 drops of oil into the tool’s
air inlet at the beginning of each workday. More than this will be expelled from
1.
2.
SETUP & OPERATION
Air Fitting: The nailer should be equipped with a 1/4" NPT male plug for a
‘quick connection’. To prevent accidental cycling even though disconnected,
the tool must always be connected to the air supply in such a way that all air
pressure in it is released when the coupling is disconnected.
CAUTION:
All air line components (including hoses, pipe, connectors, filters, &
regulators, etc.) must be rated for a minimum working pressure of 150 PSI or
150% of the maximum system pressure, whichever is greater.
Disconnect the tool from the air supply before performing maintenance,
clearing a jammed fastener, leaving the work area, moving the tool to another
location, or handing it to another person.
CONNECTING THE TOOL
Turn the compressor on.1.
Set the regulator to proper pressure for the size and type of fasteners being 2.
used.
After reading and understanding this entire manual, connect tool to air 3.
supply.
CAUTION:
Keep the tool pointed away from yourself and others at all times.
Do not load fasteners with air connected, safety or trigger depressed.
Always wear approved safety glasses and hearing protection when preparing
or operating this tool.
Never use a tool that leaks air or needs repair.
!
!
3.
the tool’s exhaust during firing.