EasyManua.ls Logo

ProForm 831.297773 - Page 16

ProForm 831.297773
18 pages
Print Icon
To Next Page IconTo Next Page
To Next Page IconTo Next Page
To Previous Page IconTo Previous Page
To Previous Page IconTo Previous Page
Loading...
41
27
28
29
16
30
16
26
25
16
24
18
16
15
8
5
7
6
13
19
16
5
15
35
36
32
33
15
31
37
16
38
39
15
15
76
18
16
22
21
3
1
3
4*
2
39
40
109
33
43
42
32
45
44
46
44
45
46
41
71
55
44
44
45
76
49
46
47
16
47
45
46
47
47
46
53
54
59
60
62
61
64
58
65
60
59
47
63
56
57
67
56
58
70
69
76
76
51
15
10
11
10
14
9
66
36
65
36
68
68
76
110
110
12
23
17
52
111
111
112
113
112
89
16
73
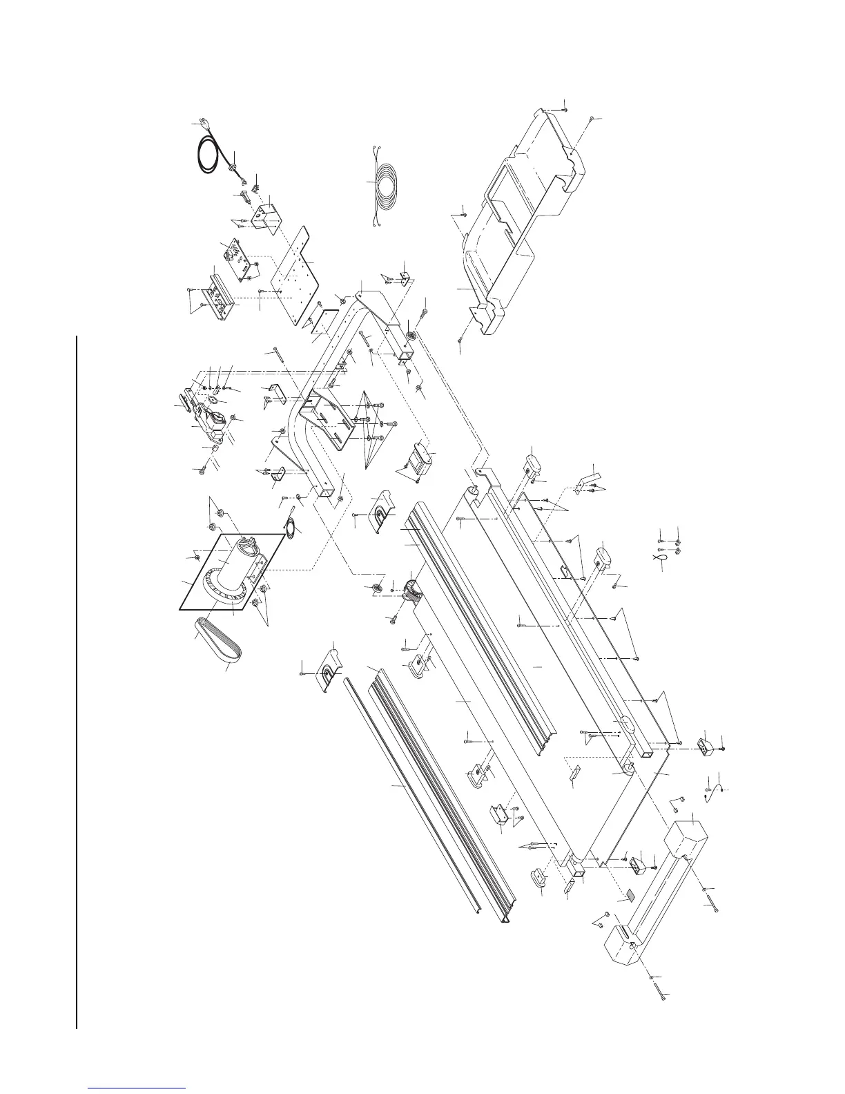
EXPLODED DRAWINGÑModel No. 831.297773 R0299A

Related product manuals