EasyManua.ls Logo

PSB CBR III - Determining Spreader Settings and Spread Width; Effective Pattern Width Testing; Application Rate Calculation

PSB CBR III
9 pages
Print Icon
To Next Page IconTo Next Page
To Next Page IconTo Next Page
To Previous Page IconTo Previous Page
To Previous Page IconTo Previous Page
Loading...
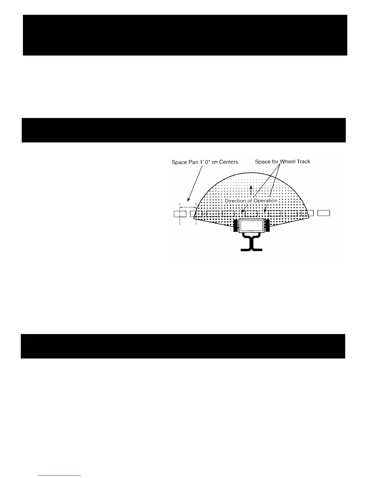
A simple visual pattern test can be made
by operating the spreader over a non-
turf area and evaluating the pattern. A
more accurate method is to place a row
of common, disposable, aluminum cake
pans approximately 1 foot on centers.
Set the rate plate at a middle setting and
make 3 or 4 passes in the same direction
as shown. Pour the material collected
from each pan into individual bottles of
the same size. Set them side by side in
order, and visually inspect their volume.
If the pattern is not centered (example:
volume in bottle #2 left not equal to
bottle #2 right), adjust the discharge
chute up or down as described in
“PATTERN ADJUSTMENT” section.
Once the pattern is uniform, the effective
pattern width can be determined. The
Knowing the effective pattern width (for
example, 10 feet), measure a distance equal
to 100 square feet (10’ x 10’ swath width).
Determine the product coverage in pounds /
100 sq. ft. by taking the weight of the product
and dividing it by the recommended square
foot coverage (add two zeroes to the weight
of the bag).
EXAMPLE: Product weight: 25 lbs.
sq. ft. coverage: 5,000 sq. ft.
2500 lbs. - 5,000 sq. ft.
= .5 lbs. / 100 sq. ft.
Weigh out 15 to 20 lbs. of material and
spread over the 100 sq. ft. area. Weigh
remaining material left in hopper and
adjust rate setting as required. Repeat
test until application rate is correct.
HOW TO DETERMINE SPREADER
SETTINGS AND SPREAD WIDTH
Two major factors should be considered when determining correct spreader settings of any
product:
1. The product application rate, or the amount of material applied per 1,000 square feet.
2. The effective pattern width, or the actual width in which material is applied. Label settings
are a guide and can be affected by numerous factors.
EFFECTIVE PATTERN WIDTH
APPLICATION RATE
effective pattern width is the distance out from
the spreader to a point where the amount of
material is 1/2 the average amount in the center
pans. This distance is multiplied by 2 to achieve
the total effective pattern width.