EasyManua.ls Logo

Pure Fun 9415TS - Page 8

Pure Fun 9415TS
19 pages
Print Icon
To Next Page IconTo Next Page
To Next Page IconTo Next Page
To Previous Page IconTo Previous Page
To Previous Page IconTo Previous Page
Loading...
8
MODEL# 9415TS - TRAMPOLINE
TRAMPOLINE ASSEMBLY INSTRUCTIONS
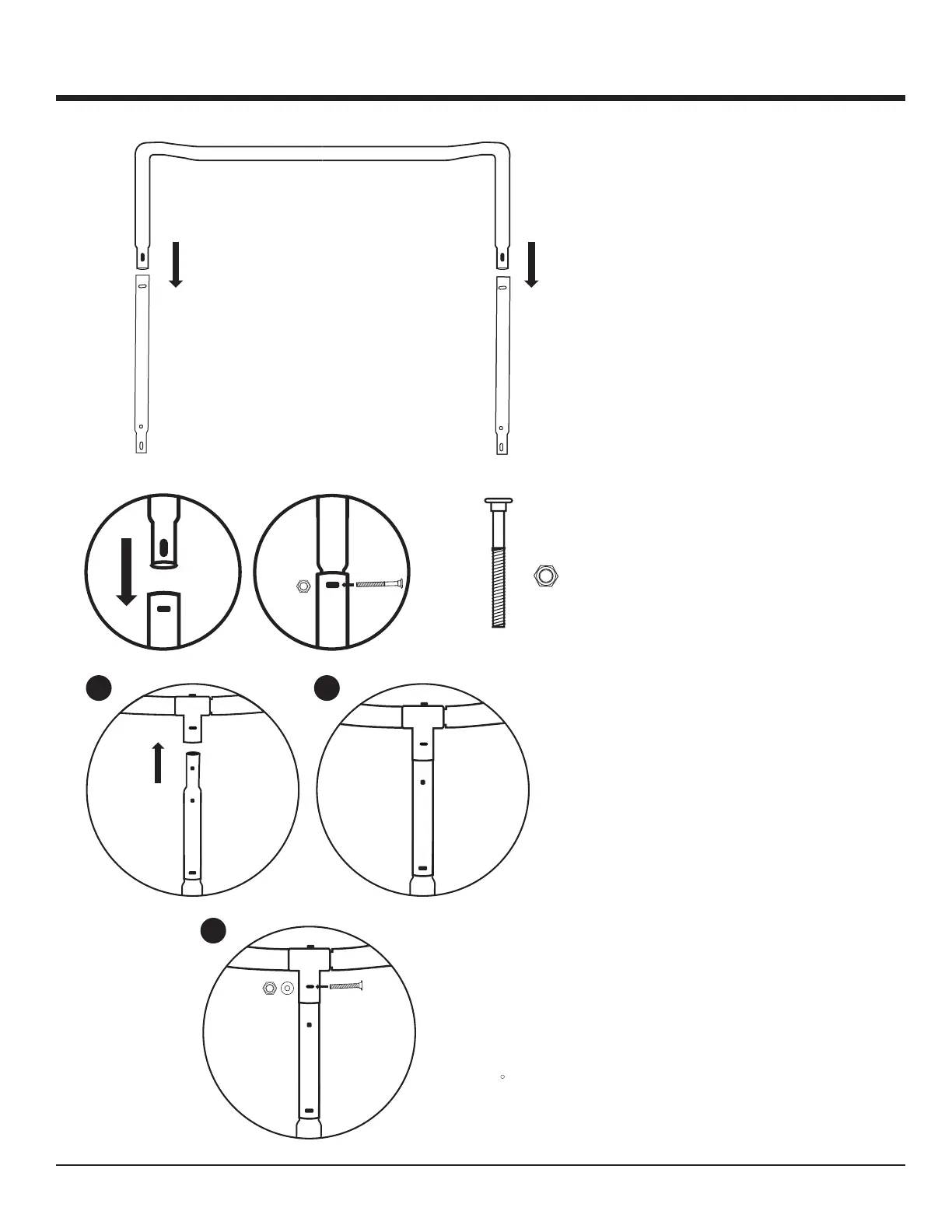
STEP 4:
Gather all Leg Extensions (Part 5) and U-
Shaped Legs (Part 6). You will be
attaching 2 leg extensions (5) to each U-
Shaped Leg.
NOTE:
The Leg Extension will have 3 openings.
The 2 openings closest to each other, will
go on the top and connect to the T-
Section at the top of the trampoline. Make
sure to connect the U-Shaped leg to the
single horizontal hole on the leg
extension.
STEP 5:
Attach the U-Shaped Leg (6) to the Leg
Extension(5) with 1 M6x45mm bolt (4)
and Nut (4a). Tighten with the Wrench
Tool (9).
Repeat step 5 until you have 6 sets of U-
Shaped legs with extensions.
STEP 6:
NOTE:
It is recommended that you use the
help of 2 more adults in order to attach
all Legs to Base of Trampoline.
Lift the Top Rail with T-Sections that you
completed earlier and insert the U-
Shaped Legs and Extensions into the T-
Sections.
Repeat step 6 until all 6 U-Shaped legs
are attached to the top rail to form the
entire base of the trampoline.
STEP 7:
THIS WILL BE ON EVERY OTHER LEG
EXTENSION (The Enclosure Poles will
be on the other leg extensions in step
4 of the enclosure section) - Attach the
T-Section to the Leg Extension with 1
M6x45mm bolt and Nut into the top hole
as shown in figure C. Tighten with the
Wrench Tool.
A B
C

Related product manuals