EasyManua.ls Logo

Pylex CLOTHESLINE POST 10736 - Attaching Sections C & D to B

Default Icon
18 pages
Print Icon
To Next Page IconTo Next Page
To Next Page IconTo Next Page
To Previous Page IconTo Previous Page
To Previous Page IconTo Previous Page
Loading...
12
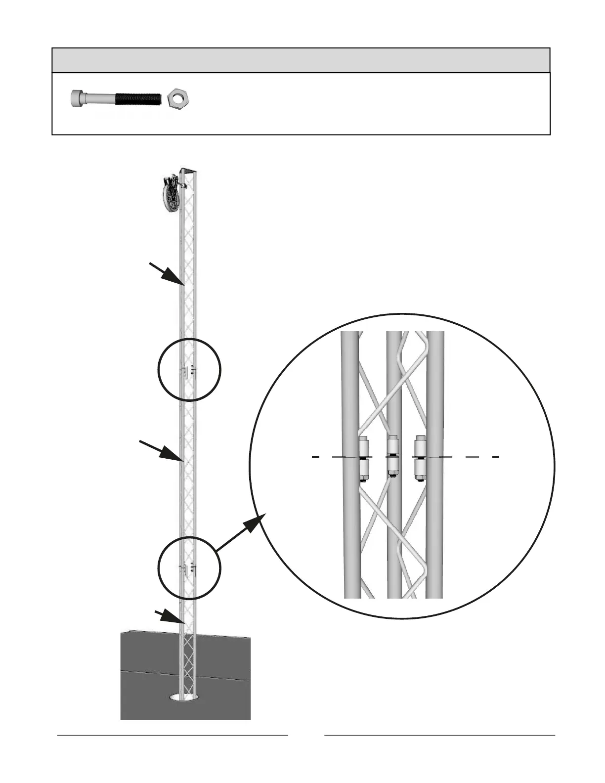
STEP 6 -
INSTALLING SECTIONS "C" AND "D" ON SECTION "B"
C
C
B
B
D
HOOK
AND
PULLEY
G1
ALREADY
INSTALLED
SECTION
SECTION
SECTION
SECTION
SECTION

Related product manuals