EasyManua.ls Logo

Pylex CLOTHESLINE POST 10736 - Finalizing Section B and Removing Parts

Default Icon
18 pages
Print Icon
To Next Page IconTo Next Page
To Next Page IconTo Next Page
To Previous Page IconTo Previous Page
To Previous Page IconTo Previous Page
Loading...
9
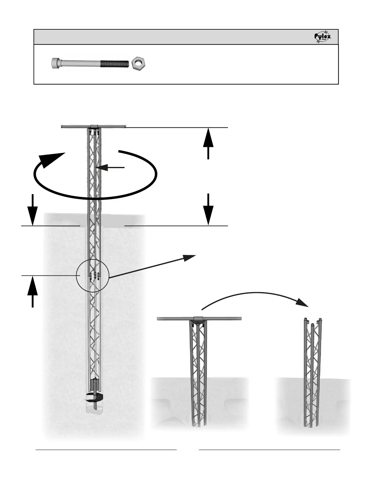
H
STEP 3 - INSTALLING SECTION "B" (NEXT)
IMPORTANT:
THESE BOLTS MUST BE
BURIED AT LEAST 12"
36"
12"
B
SCREW IN 6" IN
UNDISTURBED
GROUND, LEAVING 36"
ABOVE GROUND
REMOVE
THE "J" HANDLE
"G1" BOLTS
AND "H" PART

Related product manuals