EasyManua.ls Logo

Pyramid 906VL - WIRING AND CONNECTIONS

Pyramid 906VL
8 pages
Print Icon
To Next Page IconTo Next Page
To Next Page IconTo Next Page
To Previous Page IconTo Previous Page
To Previous Page IconTo Previous Page
Loading...
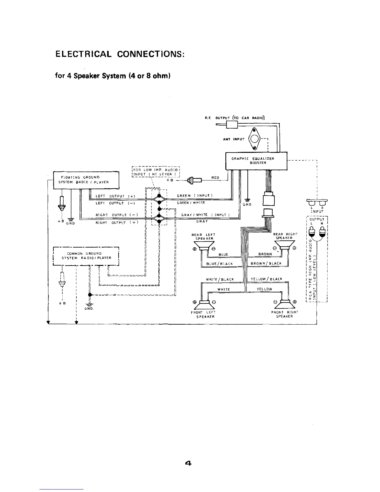
ELECTRICAL CONNECTIONS:
for
4 Speaker System (4
or
8 ohm)
R.F.
OUTPUT
(TO CAR RADIO)
ANT
INPUT
~--1
Urr
L R
INPUT
,-------,
I
OUTPUT
I
I l R I
I I
I I
I I
, I
I
~
I
,0
I
I
~
,
4 I
10.:_
I
:
~ ~
I
'>
I
[r
W I
,~...J
I
1:r:3=
I
I w a I
~~
,
I
>--
I
It->o-
I
I«:::l
I
:
~~
:
L
--J
---------"
,
,
,
,
,
,
,
,
,
,
REAR
RIGHT
SPEAKER
FRONT R1GHT
SPEAKER
REAR
LEFT
SPEA
KER
FRONT
LEFT
SPEAKER
I GREEN J
WHlTE
~=~----ll
I
II
GRAYIWHlT£
(INPUT)
r-------------,
IFOR
LOW
IMP,
AUD10
I
IINPUT
(
Hl
LEVER)
I
L \
~
RED
\
+El
rr-"--;:~--=-:::l--,
(+)
II:
:
GREEN
(INPUT)
+ B
G-=:O
RI
GHT OUTPUT
(-)
1----------,
I
COMMON
GROUND "
I
SYSTEM
RADlOI
PLAYER