EasyManua.ls Logo

Quadra-Fire 800 NOVA - Top Vent Flue Adapter Installation; Adapter Installation Steps; Feed Adjustment Instructions; Adjusting Fuel Feed Rate

Quadra-Fire 800 NOVA
20 pages
Print Icon
To Next Page IconTo Next Page
To Next Page IconTo Next Page
To Previous Page IconTo Previous Page
To Previous Page IconTo Previous Page
Loading...
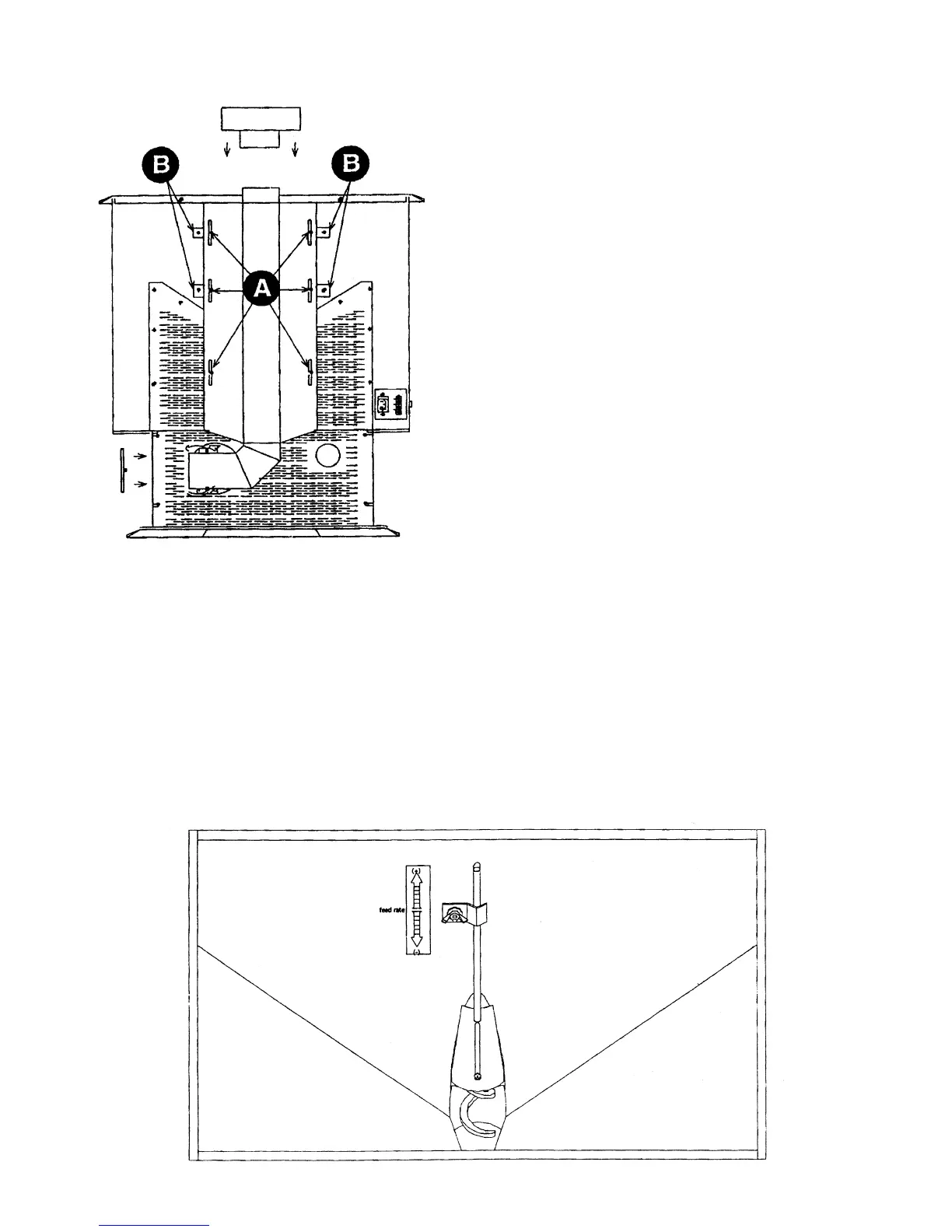
TOP VENT FLUE ADAPTER INSTALLATION INSTRUCTIONS
3"-3" ADAPTER #811-0450
3"-6" COLLAR #812-2690
1) Put a layer of silicone on the 3" (76mm) exhaust outlet.
2) Slide the flue adapter onto the rear exhaust outlet.
3) Adjust the assembly to a vertical position.
4) Slide the outer shield up or down to mate evenly with the top of
stove.
5) Tighten the adjusting screws (A) when the shield is in the proper
position.
6) Drill two hole (B) with #26 drill bit (provided) into the back of the
stove using the outer shield as a pattern (make sure the assembly
is vertical).
7) Insert the mounting gaskets between the stove and the outer
shield.
8) Install the four mounting screws (B).
9) Install the stove pipe into the adapter (be sure to silicone all
joints).
FEED ADJUSTMENT INSTRUCTIONS
1) Remove any fuel in the hopper.
2) Loosen set screw.
3) Loosen wing nut.
4) Adjust the fuel feed forward to increase the feed, toward the back of the stove to decrease the feed.
5) Tighten the set screw and the wing nut.
NOTE: Adjust fuel after the stove has been burning for 10 to 15 minutes. The flames should be 4" to 6" (I 02mm to 152mm) above
the firepot after adjustment.
Page 10

Related product manuals