EasyManua.ls Logo

Quadra-Fire DV-40 - Page 29

Quadra-Fire DV-40
51 pages
Print Icon
To Next Page IconTo Next Page
To Next Page IconTo Next Page
To Previous Page IconTo Previous Page
To Previous Page IconTo Previous Page
Loading...
Page 29
VERTICAL TERMINATIONS (CONT.)
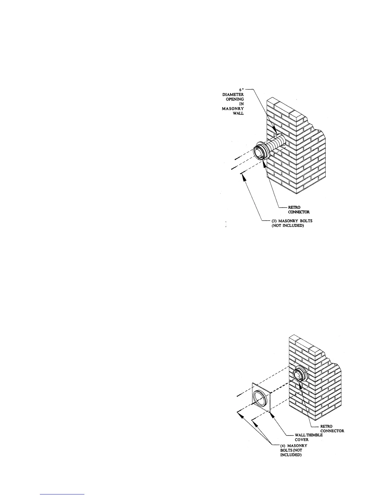
Step 9. Attach the flex to the retro connector. Use
three sheet metal screws to attach the flex
liner to the connector (Figure 26). Mount the
retro connector to the masonry wall using
masonry bolts. Redrill larger holes on
connector as needed. Be careful to insure
that the connector is centered in the opening
and the mounting holes line up with the
masonry wall.
Step 10. Slide wall thimble cover (SDV #940) over
retro connector and secure with masonry
bolts (Figure 27). If you have a framed wall
in front of the masonry, use wood screws to
mount wall thimble cover to framed wall,
over retro connector and 10 (254mm)
square framed opening (Figure 22). If
needed, add a section of direct vent pipe to
the retro connector in order to extend
through the opening in the wall thimble
cover.
Step 11. The connection between the appliance and
the retro connector may be completed with
sections of direct vent pipe.
Step 12. Move the appliance into the desired location.
FIG. 26
INSTALLATION INTO AN EXISTING MASONRY CHIMNEY (CONT.)
FIG. 27
WARNING: IF ANY OTHER APPLIANCES HAVE BEEN PREVIOUSLY ATTACHED TO THIS
MASONARY FLUE OR AN OPEN FIREPLACE, ETC., ALL OPENINGS INTO FLUE SHOULD BE
SEALED PROPERLY. IT IS VERY IMPORTANT THAT THERE IS ONLY ONE APPLIANCE ON A
VENT SYSTEM AND THAT THERE ARE NO AIR LEAKS INTO THE MASONRY CHIMNEY ITSELF
OTHER THAN THE VENT APPLIANCE VENTING.

Related product manuals