EasyManua.ls Logo

Qualcut 3300ST - Recommended Cutting Attachments; Safety Instructions; Personal Protective Equipment

Qualcut 3300ST
24 pages
Print Icon
To Next Page IconTo Next Page
To Next Page IconTo Next Page
To Previous Page IconTo Previous Page
To Previous Page IconTo Previous Page
Loading...
POWER PRODUCTS LLC.
3300ST
SAFETY INSTRUCTIONS
4.
Save these instructions.
1) Work Area
a) Clear the area to be cut before each use. Remove all
objects such as rocks, broken glass, nails, wire, string etc. that
can be thrown or become entangles in the cutting attachment.
b) Do not operate power tools in explosive atmospheres,
such as in the presence of flammable liquids, gases, or
dust. Power tools create sparks which may ignite the dust or
fumes.
c) Take extra care in dangerous environments. To avoid
falling, do not use the product in damp or wet locations.
2) Personal Safety
a) Stay alert, watch what you are doing and use common
sense when operating a power tool. Do not use a power tool
while you are tired, ill or under the influence of drugs, alcohol,
or medication. Operate unit only if you are physically and
mentally well. A moment of inattention while operating power
tools may result in serious personal injury.
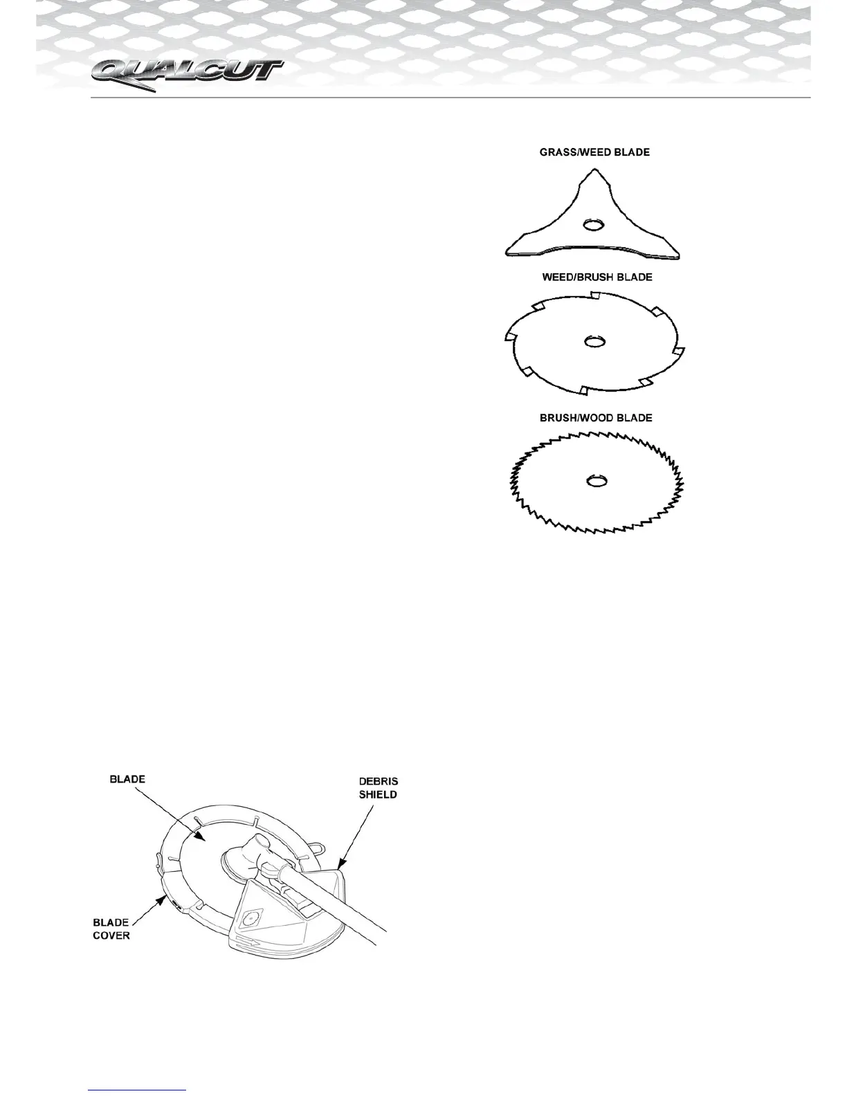
RECOMMENDED CUTTING
AT TAC H M E N T S
A variety of blades are available from your Qualcut Brushcutter
servicing dealer. Always use a debris shield designed for use
with a blade when attaching a blade to your machine. The blade
type debris shield does not have a cutoff knife.
Grass / Weed Blades
Grass / weed blades, which may be plastic or metal, are used
as an alternative to nylon monofilament line for cutting grass
and ordinary weeds.
However, blades should never be used for edging against solid
surfaces.
Weed / Brush Blades
These metal blades have chisel-shaped teeth that are used for
cutting through field grass, thick weeds, and light brush.
They are not designed for sawing woody material. The teeth
must be sharp for good results.
Brush / Wood Blades
These metal saw-tooth blades are used for sawing through
saplings, shrubs and woody brush.
The teeth must be sharp for good results. Brush/wood blades
will also cut grass and weeds, but they are not efficient for that
purpose.