EasyManua.ls Logo

Radiant RS 24 E - Page 6

Radiant RS 24 E
29 pages
Print Icon
To Next Page IconTo Next Page
To Next Page IconTo Next Page
To Previous Page IconTo Previous Page
To Previous Page IconTo Previous Page
Loading...
Installation Manual
SYSTEM BOILER – Cod. 99951NA – November 2002
3
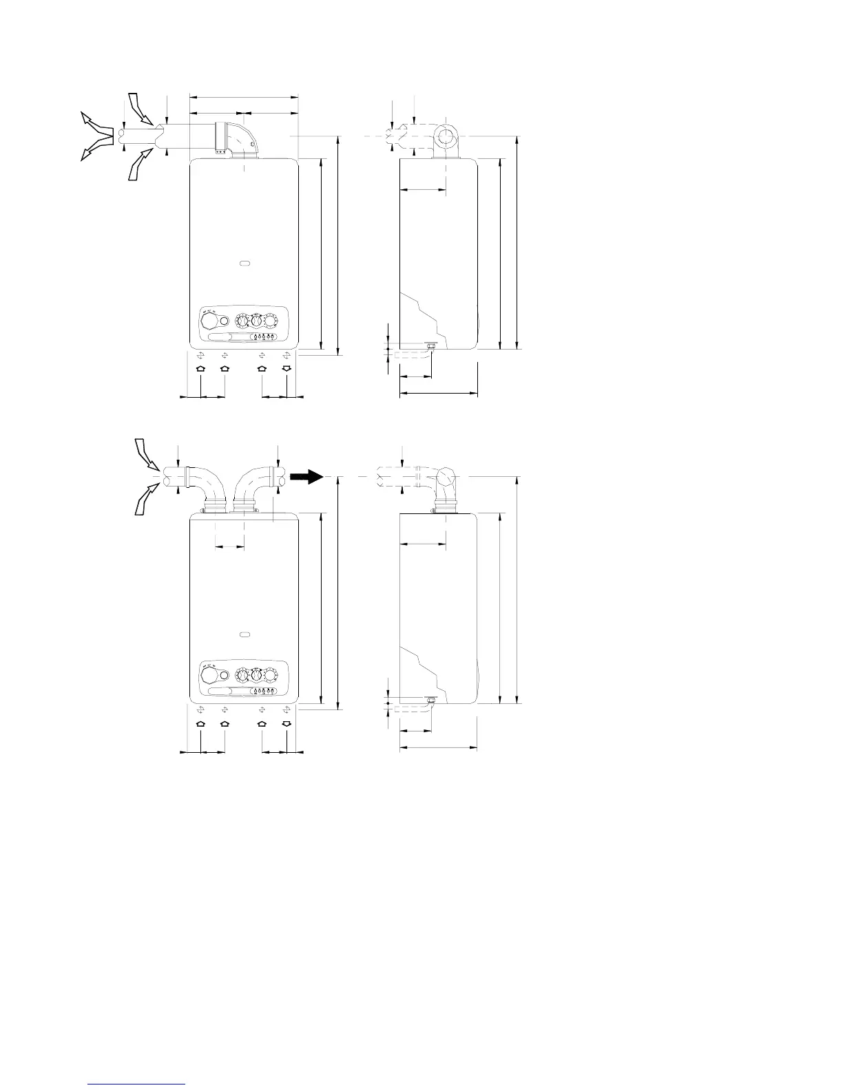
TYPE C WALL-MOUNTED
BOILERS
SEALED COMBUSTION CIRCUIT:
Kit A.
Horizontal coaxial exhaust flue
system with 360° rotation. It allows
the flue exhaust and the air intake
directly to an external wall. .
N.B.: To insert a bend in the flue,
reduce total flue length by 0.8 m.
Kit B.
Double exhaust/emission twin flue
system with 360° rotation. It allows
the flue exhaust into a flue duct and
the air intake directly from an
external wall.
N.B.: To insert a bend in the flue,
reduce total flue length by 1.5 m.
R
RETURN ¾”
G
GAS 1/2"
F
COLD WATER INLET 1/2"
A
HEATING FLOW ¾”
NOTE:
USE ORIGINAL RADIANT APPROVED FLUE KIT SYSTEMS, FLUE ACCESSORIES AND FLUE DIAPHRAGMS ONLY.
APPROVED RADIANT FLUE DIAPHRAGMS AND ADJUSTMENT TABLES ARE SUPPLIED WITH RADIANT ORIGINAL FLUE KIT
SYSTEMS.
10151
R G
46
F
101
A
790
948
RG F A
120
80
10151 46
80
101
790
894
24
125
320
17
790
924
125
182
80
320
1724
790
870
60
450
100
= =
100
182
60

Other manuals for Radiant RS 24 E

Related product manuals