EasyManua.ls Logo

Radio Shack TRS-80 26-3650

Radio Shack TRS-80 26-3650
34 pages
To Next Page IconTo Next Page
To Next Page IconTo Next Page
To Previous Page IconTo Previous Page
To Previous Page IconTo Previous Page
Loading...
3.
CPU
(Central
Processing
Unit) HD61913
3-1
.
Features
o
CMOS
one-chip CPU
o
Built-in ROM:
100864
bits
o
Built-in RAM: 1896
bits
o
Built-in display
driver
o
Memory
backup
function
o
Clock: 400
kHz
Internal
machine
cycle:
200
kHz
Minimum
instruction
execute time:
10/xS
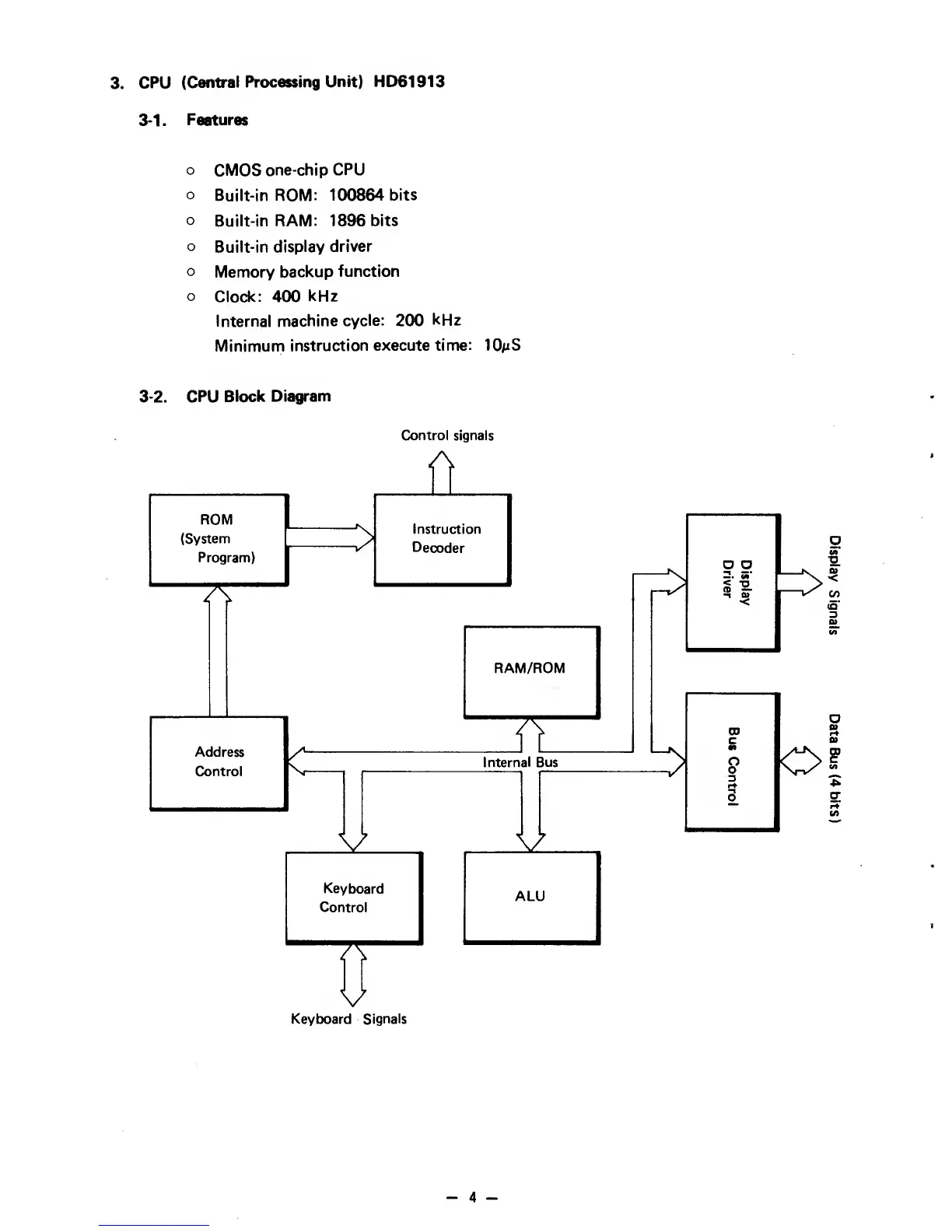
3-2.
CPU
Block
Diagram
Control signals
A
ROM
(System
Program)
7\
Instruction
Decoder
Address
Control
V
Keyboard Signals
-
4
-

Related product manuals