EasyManua.ls Logo

RCA BRC3087 - Control Reference Guide; Remote Control Functions

RCA BRC3087
20 pages
Print Icon
To Next Page IconTo Next Page
To Next Page IconTo Next Page
To Previous Page IconTo Previous Page
To Previous Page IconTo Previous Page
Loading...
3
EN
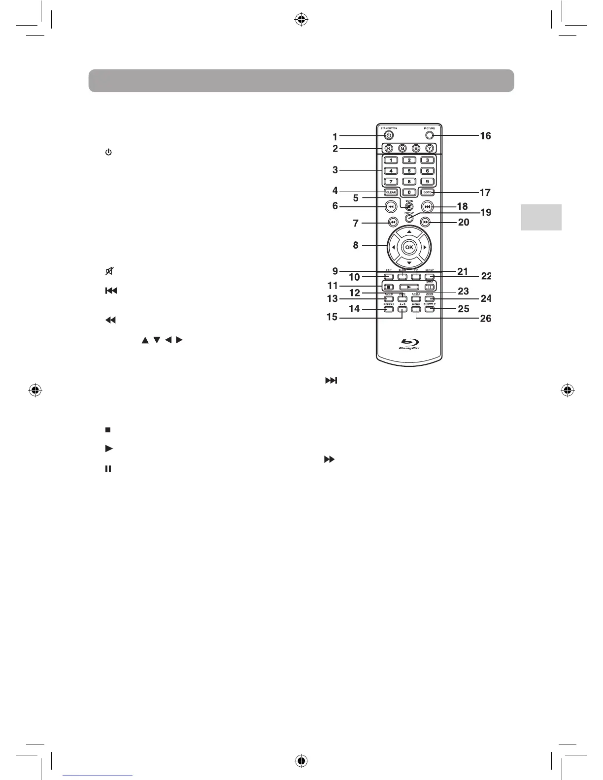
1. STANDBY/ON Button
Press to turn on the unit or put it in standby
mode.
2. Colorbuttons
When playing a Blu-ray Disc that has a Java
application, press to control playback. For more
information, see the documentation that comes
with the Blu-ray Disc.
3. Number (0-9) Buttons
4. CLEAR Button
Clear input selections and cancel certain playback
functions.
5.
MUTE Button
Press to turn on/off the sound.
6.
Skip Button
Press to move backwards through titles, chapters
or tracks on a Blu-ray Disc, DVD or CD.
7.
Button
Fast reverse playback.
8. CURSOR (
, , , ) Button
Press to highlight selections on a menu screen and
adjust certain settings.
OK Button
Press to confirm selections on a menu screen.
9. SLOW Button
Press to perform slow forward playback of Blu-ray
Discs or DVDs.
10. EXITButton
11.
STOP Button
Press to stop playback.
PLAY Button
Press to start playback.
PAUSE/ STEP Button
Press to pause playback, frame advance.
12. INFOButton
Accesses the info menu.
13. AUDIOButton
Press to select one of the audio sound tracks
programmed on a Blu-ray Disc or DVD.
14. REPEATButton
Press to repeat chapter of a Blu-ray Disc. Press to
repeat chapter or title of a DVD. Press to repeat
single track of whole CD.
15. A-BButton
Press to perform point-to-point repeat playback
on a Blu-ray Disc , DVD or CD.
16. PICTUREButton
Press to adjust brightness, contrast, backlight &
Screen.
17. GOTOButton
Press to skip directly to a specific location on a Blu-
ray Disc or DVD.
18.
Skip Button
Press to move forward through titles, chapters or
tracks on a Blu-ray Disc, DVD or CD.
19. POPUPButton
During Blu-ray Disc playback, press to open a
menu that lets you control Blu-ray Disc playback.
During DVD playback, press to open the DVD title
menu (if available).
20.
Button
Fast forward playback.
21. PiPButton
Press to turn PiP (picture in picture) mode on or
off. This function is only available on certain Blu-
ray Discs.
22. SETUPButton
At stop mode, press to open or close the SETUP
menu screen.
23. ANGLEButton
Press to switch the camera angle of the video
presentation when scenes with multiple camera
angles are recorded on a Blu-ray Disc or DVD.
24. ZOOMButton
Zoom in and zoom out an image on a DVD or
picture file disc.
25. SUBTITLEButton
Press to select one of the subtitle languages
programmed on a Blu-ray Disc or DVD.
26. MENUButton
Press to open or close the Disc’s menu.
Control Reference Guide
Remote Control
BRC3087 ENG IB.indd 3 4/6/2011 17:14:01

Other manuals for RCA BRC3087

Related product manuals