EasyManua.ls Logo

RCA Home Theatre P60928

RCA Home Theatre P60928
64 pages
To Next Page IconTo Next Page
To Next Page IconTo Next Page
To Previous Page IconTo Previous Page
To Previous Page IconTo Previous Page
Loading...
7
Setup and Connections
Sample Connections
The following are sample connection scenarios which you may encounter
when connecting components to your TV.
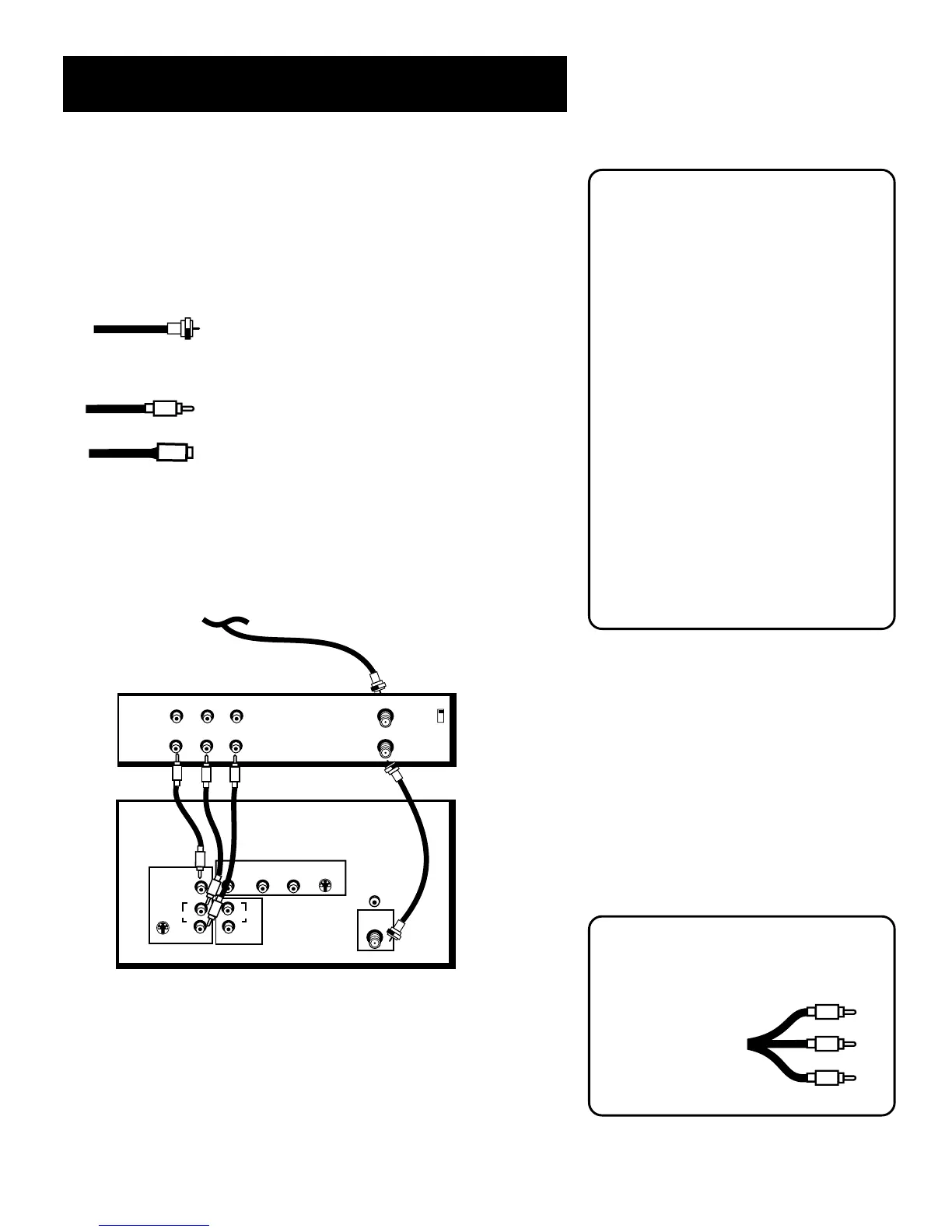
Cables
You will use the following cable to make your connection:
Coaxial Cables: Carries the signal from the
antenna or cable directly to the television or
through a cable box, as needed by your cable
system.
Audio/Video Cables: Carries sound and video
from the component to the TV.
S-Video Cable: Carries video from an S-Video
capable component which provides best
picture quality.
TV and Stereo VCR
VCR
TV
VIDEO
OUT
IN FROM ANT
OUT TO
CH3
CH4
INPUT 1
VIDEO
R
S-VIDEO
R
INPUT 2
VIDEO
CABLE/
ANTENNA
INPUT
S-VIDEO
RAUDIOL
G-LINK
AUDIO OUTPUT
AUDIO
L
L
AUDIO
R
AUDIO
L
IN
CABLE, CABLE BOX, OR ANTENNA
Once you have completed this connection go to Step 3:
Connect the G-LINK Cable on page 9.
Cautions:
Position cables to Avoid Audio Hum
or Interference
Insert all cables firmly into jacks.
Place the audio/video cables to the
sides of the TV’s back panel instead of
straight down the middle.
Try not to coil any twin-lead cables and
keep them away from the audio/video
cables.
Protect your components from
Overheating
Do not block ventilation holes in any of
the components. Arrange the
components so that air can circulate
freely.
Do not stack components.
Allow adequate ventilation when
placing your components in a stand.
Place an amplifier on the top shelf of
the stand so heated air rising from it
will not flow around other
components.
How to View Your VCR
To watch the VCR in this connection, press TV to put the
remote control into TV mode, then press WHOINPUT to
scroll through the video input channels until you tune to
VID1 input.
In the Interactive Setup section you can program the TV to
automatically tune to the VID1 input channel when you
press VCR1 on the remote.
Most Audio/Video cables are combined
into one cable with three heads on
each end.
We show individual cables
in these sample
connections. Either
may be used, but
you must be sure to
connect Video to
Video, Right to Right
and Left to Left.
Video (yellow)
Right Audio (red)
Left Audio (white)

Table of Contents