EasyManua.ls Logo

RCA L37WD250 - HDMI and DVI Connectivity; HDMI;DVI Connection Diagram

RCA L37WD250
52 pages
Print Icon
To Next Page IconTo Next Page
To Next Page IconTo Next Page
To Previous Page IconTo Previous Page
To Previous Page IconTo Previous Page
Loading...
Connections and Setup
10 Chapter 1
OR
Device with DVI
L
R
Device with HDMI
Audio Out
DVI Out
Pb
Y
Video Out
Pr
HDMI Out
L
R
Audio Out
R
DVI AUDIO
INPUT
L
HDMI 1/DVI
INPUT
B
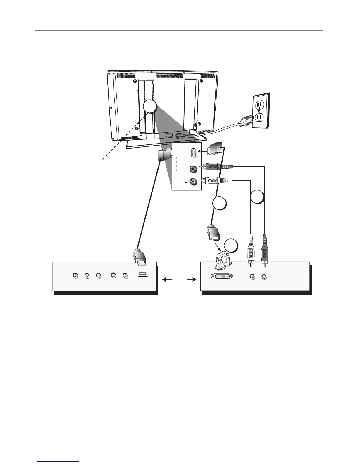
HDMI/DVI Connection
This is an example of a connection using the HDMI/DVI jack.
A
*Don't forget: If necessary, connect
antenna or cable to get a picture. Go
to page 6 for instructions.
C
*

Table of Contents

Related product manuals