EasyManua.ls Logo

RCA RLED3216A - Wall Mount Installation; Installing;Removing the Base Stand; Mounting on the Wall

RCA RLED3216A
32 pages
Print Icon
To Next Page IconTo Next Page
To Next Page IconTo Next Page
To Previous Page IconTo Previous Page
To Previous Page IconTo Previous Page
Loading...
WALL MOUNT INSTALLATION
INSTALLING REMOVING THE BASE STAND
WARNING
/
: The LED Display is very fragile and must be protected at all t imes when removing the b ase
Stand
Be sure that no hard or sharp object or anything that could scratch or damage the LED display comes into
contact with it Do NOT exert pressure on the front of the unit at any time because the screen could crack
1 Disconnect all cables or cords connected to the unit
2 Lay the unit down on a flat surface with the back side facing up Please make sure to place a soft
cushioned material such as a pillow or thick piece of foam beneath the screen
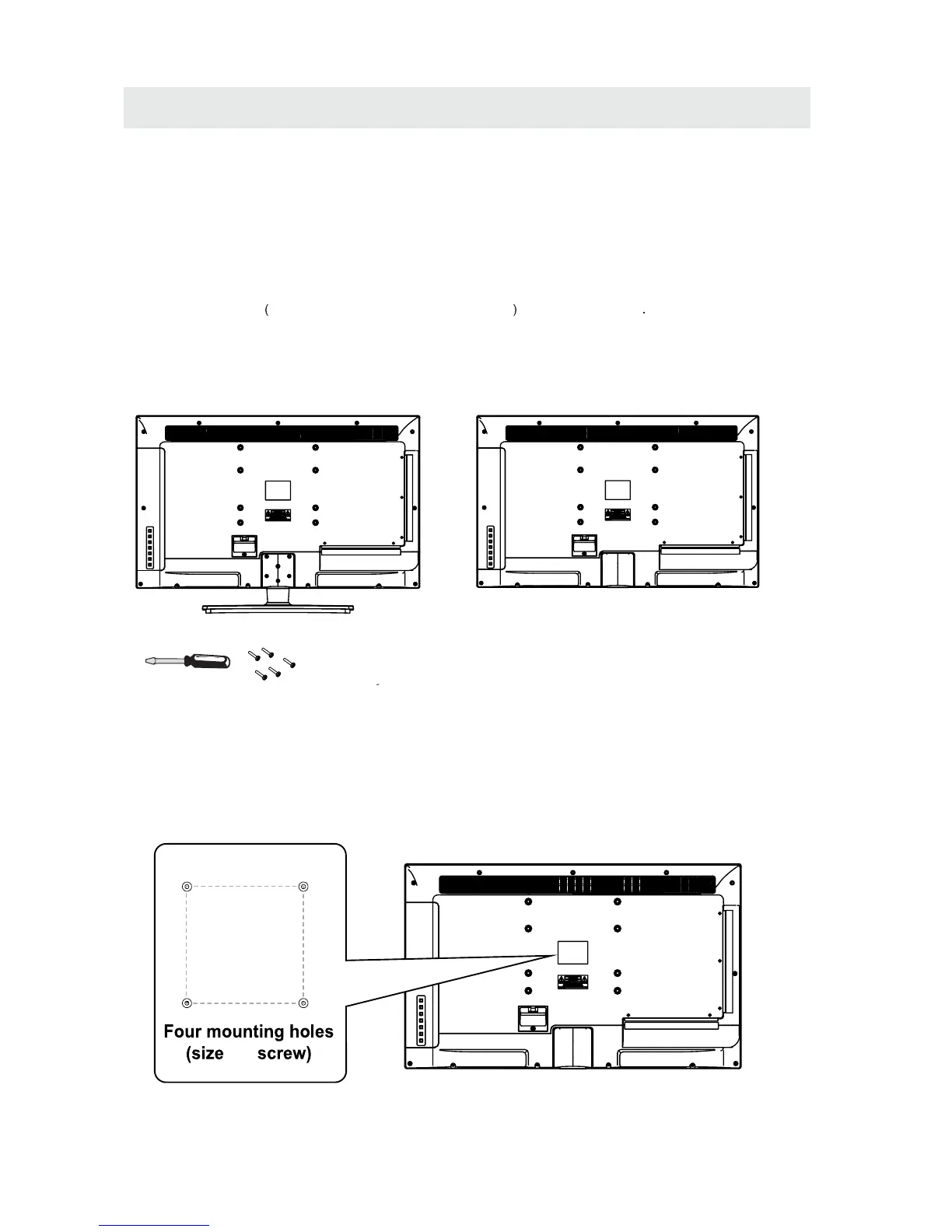
3 To remove the base stand loosen screws off the holes then pull downwards to release
the base stand
4 To install the base stand put the stand into the hole at the bottom of the TV then insert screws to the
holes and tighten.
,
.
. .
. .
. .
. ,
.
. ,
MOUNTING ON THE WALL
NOTE
Remove the base stand before mounting the unit on the wall.
This unit is VESA-compliant, and is designed to be wall-mounted with a VESA-compliant 8x4
(200mm x 100mm) mounting kit designed for flat-panel TVs (not supplied). Mount this unit according to
the instructions included in the mounting kit.
Length of screw should not exceed 20 mm.
11
8
4
M4

Related product manuals