EasyManua.ls Logo

Realtek RTL8188CE - Mechanical Specifications; Environmental Conditions; Functional Specifications

Realtek RTL8188CE
14 pages
Print Icon
To Next Page IconTo Next Page
To Next Page IconTo Next Page
To Previous Page IconTo Previous Page
To Previous Page IconTo Previous Page
Loading...
RTL8188CE, RTL8188CEAU
Users Manual
5 Rev.1.0
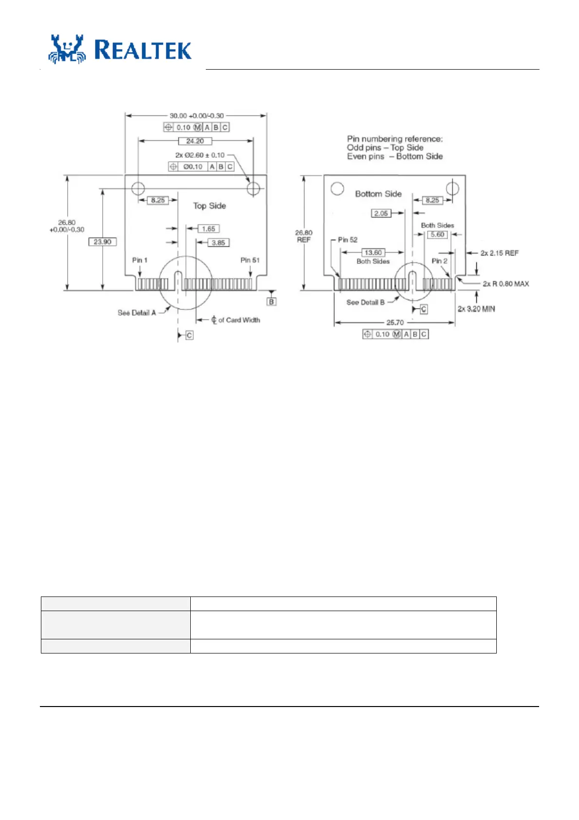
4.2. Mechanical
Figure 2. RTL8188CE, RTL8188CEAU miniCard Mechanical Specification
4.3. Environmental
4.3.1. Operating
Operating Temperature: 0 to 70 °C
Relative Humidity: 5-90% (non-condensing)
4.3.2. Storage
Temperature: -55 to 125 °C
Relevant Humidity: 5-95% (non-condensing)
4.4. Functional Specifications
Table 2. Functional Specifications
POWER SUPPLY
3.3Vdc±0.3Vdc , 365mA from host equipment
MODULATION TYPE
CCK, DQPSK, DBPSK for DSSS
64QAM, 16QAM, QPSK, BPSK for OFDM
MODULATION Technology
DSSS, OFDM

Related product manuals