EasyManua.ls Logo

Reflexion HIF2002 - Connecting to Power; Mains (Ac) Operation; Turntable Operation

Reflexion HIF2002
Print Icon
To Next Page IconTo Next Page
To Next Page IconTo Next Page
To Previous Page IconTo Previous Page
To Previous Page IconTo Previous Page
Loading...
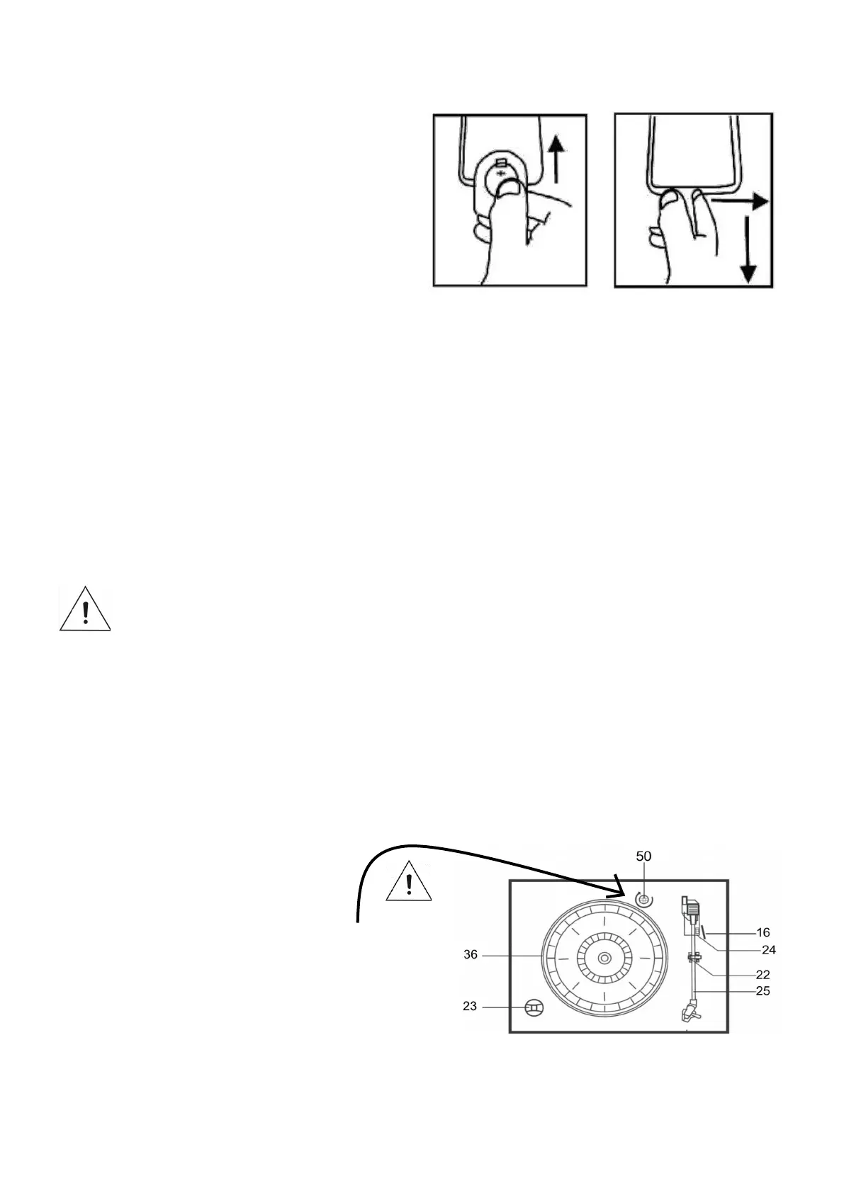
REMOTE CONTROL BATTERY REPKACEMENT
The battery compartment is located on the back of the
remote control. 1. Remove the battery compartment
door by pressing in on the tab and lifting it off. 2. Insert
one (2) CD-2025 size battery (included) into the battery
compartment following the polarity markings inside the
battery compartment. 3. Replace the battery com-
partment door.
Dispose of batteries properly. Do not dispose of batte-
ries in fire. The batteries may explode or leak.
CONNECTING TO POWER
Before switching ON the unit, make sure that the voltage of your electricity supply is the same as that
indicated on the rating plate.
For your own safety read the following instructions carefully before attempting to connect this unit to the mains.
MAINS (AC) OPERATION
This unit is designed to operate on AC 230V 50Hz current only. Connecting it to other power sources may damage
the unit.
POWER ON AND POWER OFF
To turn the system ON, press the POWER button (15) on the front panel 1 second, and set the volume to a
low level. The POWER indicator (17) lights up.
Press the function selector buttons (MW/UKW/CD/USB/T APE/PHONO) to select your desired function.
Start to adjust the volume by using the VOLUME control (7).
When you have finished your listening, press the POWER button 3 seconds to turn off the unit. The PO-
WER indicator goes off.
VERY IMPORTANT: When no sound is produced, the unit will switch OFF automatically after 15 minutes.
TURNTABLE OPERATION
Preparation
Open the Record Player durst Cover (1).
Unscrew the TRANSIT SCREWS (50) by using a coin.
Release the Tonearm Clamp (22), and remove the stylus
protector.
NOTE: Do not turn or stop the turntable manually. Moving
or jarring the turntable without securing the tone arm
clamp could result in damage to the tone arm.
IMPORTANT: To protect the turntable from damage during transportation, a silver transit screw is located at
the upper right of the turntable. BEFORE PLAYING A RECORD, use a screwdriver to turn the screw CLOC-
WISE (DOWN!) completely.
IMPORTANT: THE UNIT HAS TWO SWITCHES: THE PRIMARY (49) IS LOCATED ON REAR SIDE
OF THE UNIT AND THE SECONDARY (15) IN THE FRONT SIDE OF THE PANEL.
15

Related product manuals