EasyManua.ls Logo

Renault Master - Engine Identification Plates

Renault Master
284 pages
Print Icon
To Next Page IconTo Next Page
To Next Page IconTo Next Page
To Previous Page IconTo Previous Page
To Previous Page IconTo Previous Page
Loading...
6.4
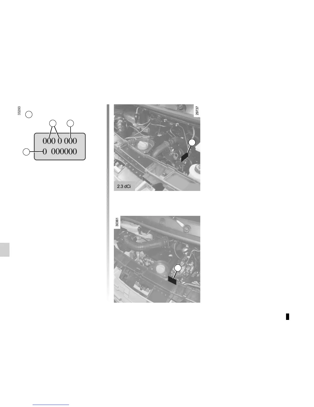
ENGINE IDENTIFICATION PLATES
The information on the engine plate
or label A should be quoted on all
your correspondence or orders.
(Location varies depending on engine)
1 Engine type.
2 Engine suffix.
3 Engine number.
A
A
A
1 2
3

Table of Contents