EasyManua.ls Logo

Retekess T-AC01 - Professional Power Wiring; Wiring Instructions; Red Wire Connection; Black Wire Connection (GND)

Retekess T-AC01
35 pages
Print Icon
To Next Page IconTo Next Page
To Next Page IconTo Next Page
To Previous Page IconTo Previous Page
To Previous Page IconTo Previous Page
Loading...
standalone access controller
+12V
GND
PUSH/NO
COM
NC
BELL
BELL
BTN
GND
DO
D1
GLED
access controller reader
+12V
GND
DO
D1
LED
supply power
+
12v
-
power to unlock
power to lock
Wired doorbell
Exit button
1 2 3
Note: This access control can be used as an external access read heads, TXD and RXD for data copy interface,
the two access control can do data copy, please connect the two access machines: TXD and RXD connect in
braces.
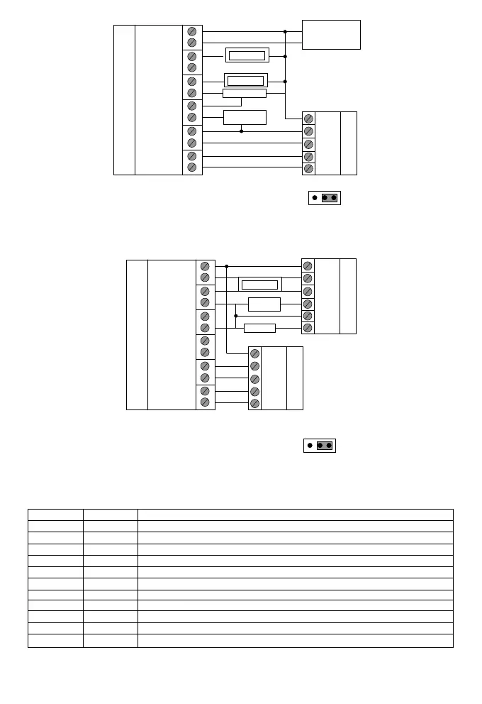
2.Professional power wiring
Access Controller Reader
+12V
GND
DO
D1
LED
standalone access controller
+12V
GND
PUSH/NO
COM
NC
BELL
BELL
BTN
GND
DO
D1
GLED
Access Control Power Supply
+12V
GND
PUSH
NO
GND
NC
power to lock
Exit button
1 2 3
power to unlock
Professional power wiring
Note: When using this access control as access control readjustment, please change its working mode. TXD and
RXD are data copy interfaces. Two access control can do copy data. When you’re wiring, please connect TXD
and RXD in brace.
3.Wiring instructions
Matters needing attention and failure analysis
1. Precautions
● the user card added or deleted By adding card and deleting card, you can only delete by credit card.
Red
black
yellow
gray
violet
brown
black
green
white
blue
orange
rose
+12V
GND
NO
COM
NC
BTN
GND
DO
D1
LED
TXD
RXD
Positive pole
Negative pole
Relay normally open output
Electromechanical Relay Common Terminal
Relay normally closed output
Exit Button
Negative pole
D0 Signal reader
D1 Signal reader
LED Signal Reader
Copy data
Copy data
3

Other manuals for Retekess T-AC01

Related product manuals