EasyManua.ls Logo

RHOSS CWA/EX - PUMP Primary Pump Selection

RHOSS CWA/EX
40 pages
Print Icon
To Next Page IconTo Next Page
To Next Page IconTo Next Page
To Previous Page IconTo Previous Page
To Previous Page IconTo Previous Page
Loading...
collegamento idraulico
hydraulic connection
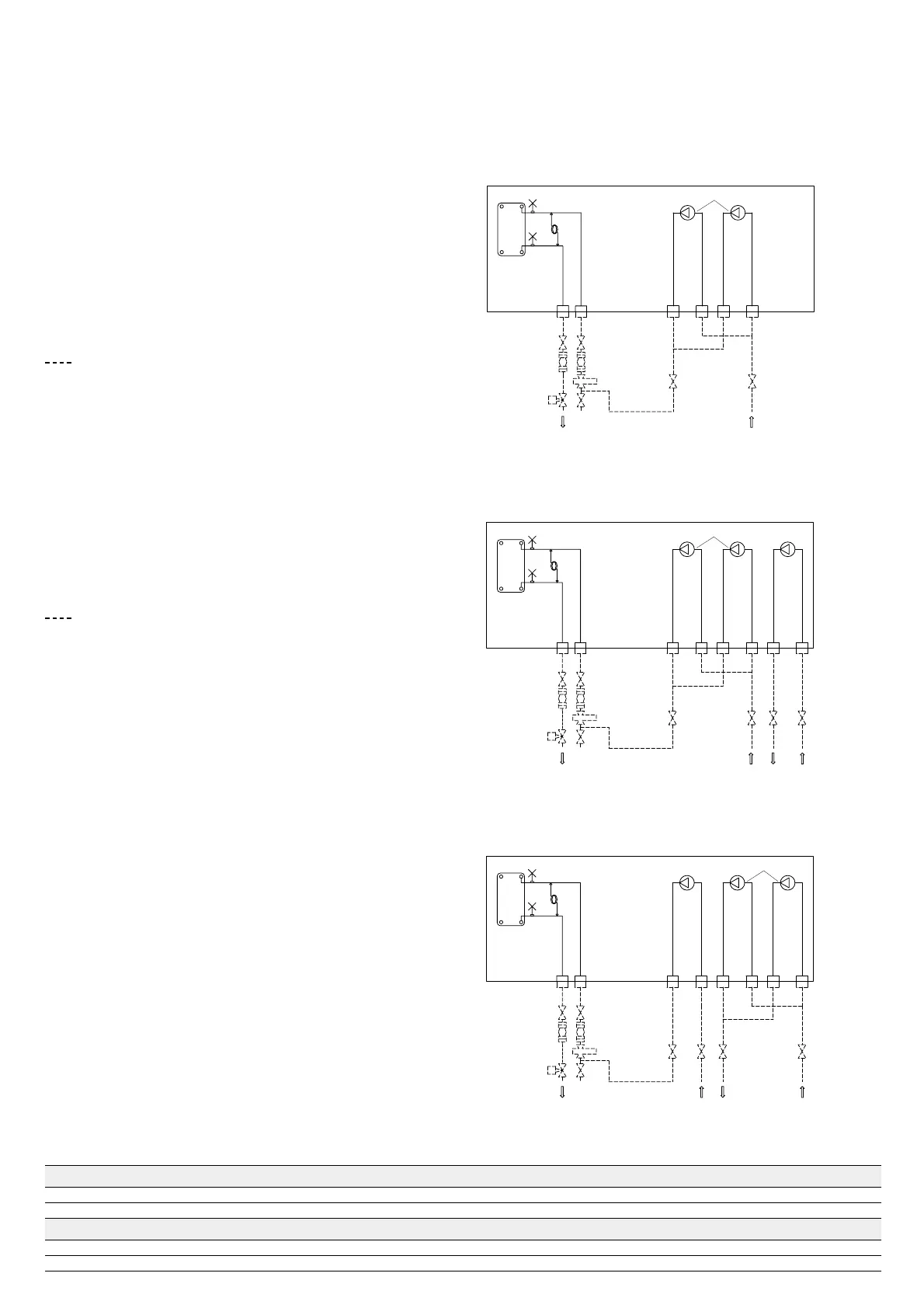
PUMP - Versione con elettropompa primaria P o P/DP
PUMP - Version with primary P or P/DP pump
fig. 16
PUP P/DP
ECH
VSM
VSM
PD
OUT
GI
RI
C
RI
GI
FA
RI
IN
RI
IN
OUT
RI
FL
PUMP - Versione con elettropompa primaria P o P/DP
ed elettropompa secondaria PU
PUMP - Version with primary P or P/DP pump and
user system PU pump
fig. 17
PU
P
PU/DP
OUT
GI
RI
C
FA
GI
RI
PD
VSM
VSM
OUT
IN
RI
ECH
IN
RIRI RI
FL
PUMP - Versione con elettropompa primaria P ed
elettropompa secondaria PU o PU/DP
PUMP - Version with primary P pump and user
system PU or PU/DP pump
fig. 18
PUMP - Selezione elettropompa primaria
Selezionare la pompa primaria in base ai dati di prevalenza presenti
nella tabella sottostante sottraendo le perdite di carico allevaporatore
riportate al capitolo prestazioni.
Esempio di scelta
Selezione elettropompa primaria P per CWA/E 29:
Potenzialità frigorifera = 32,72 kW alle condizioni nominali;
Portata acqua = 5.800 l/h;
Perdite di carico nominali evaporatore 35 kPa;
Elettropompa P disponibili:
P1 con prevalenza totale 170 kPa;
P3 con prevalenza totale 252 kPa.
PUMP - Primary pump selection
Select an appropriate primary pump considering the static pressure
data in the table, subtracting the pressure drops at the evaporator
shown in the performances chapter.
Selection example
Primary P pump selection for CWA/E 29
Cooling capacity = 32,72 kW at nominal conditions;
Water flow = 5.800 l/h;
Evaporator nominal pressure drops 35 kPa;
Available P pumps:
P1 with 170 kPa total static pressure;
P3 with 252 kPa total static pressure.
PUMP - Prevalenza totale elettropompe
PUMP - Pumps total static pressure
P = Pompa di circolazione primaria
P/DP = Pompa di circolazione primaria + pompa stand-by
PU = Pompa di circolazione secondaria lato utenza
PU/DP = Pompa di circolazione secondaria lato utenza + pompa stand-by
C = Rubinetto di carico
ECH = Evaporatore a piastre
FA = Filtro acqua
FL = Flussostato
GI = Raccordo antivibrante
M = Manometro impianto
PD = Pressostato differenziale
RI = Rubinetto intercettatore
S = Scarico impianto
SA = Serbatoio di accumulo
VE = Vaso di espansione
VS = Valvola di sicurezza
VSM = Valvola di scarico manuale
= Collegamento a cura dellinstallatore
P = Primary circulation pump
P/DP = Primary circulation + stand-by pumps
PU = User system circulation pump
PU/DP= User system circulation + stand-by pumps
C = Charging tap
ECH = Plate exchanger
FA = Water filter
FL = Flow-switch
GI = Antivibration connection
M = System gauge
PD = Differential pressure switch
RI = Intercepting valve
S = System discharge
SA = Water tank
VE = Expansion tank
VS = Safety valve
VSM = Manual discharge valve
= Connection by the installer
Unità Pompa
G (l/h)
3.450 4.600 5.800 6.300 7.080 7.800 8.500 9.200 10.000 10.600 11.320 12.000 13.000 14.150
Units Pump
29÷57 P1-PU1
pw (kPa)
175 172 170 168 168 165 162 160 158 155 152 148 143 138
29÷57 P3-PU3
pw (kPa)
258 255 252 250 250 246 244 241 240 238 235 232 230 227
Unità Pompa
G (l/h)
8.300 11.000 14.080 16.000 17.100 18.500 20.060 21.000 22.600 24.000 25.100 26.500 27.920 29.500 30.600 34.000 38.000
Units Pump
70÷153
P5-PU5
pw (kPa)
195 193 189 188 183 183 177 176 169 166 160 158 148 144 136 120 100
70÷153
P7-PU7
pw (kPa)
320 315 307 305 301 298 291 289 284 278 274 268 259 252 246 227 203

Related product manuals