EasyManua.ls Logo

RMG 720 - Page 19

RMG 720
24 pages
Print Icon
To Next Page IconTo Next Page
To Next Page IconTo Next Page
To Previous Page IconTo Previous Page
To Previous Page IconTo Previous Page
Loading...
720.20 S.19
6.
6.1.
6.1.1
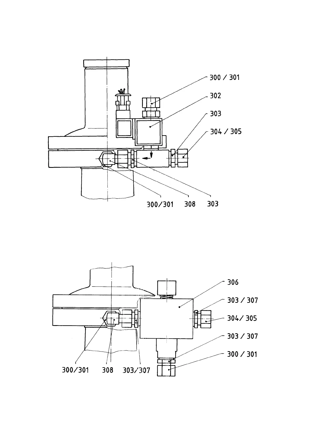
Special features
Spare parts drawings
Remote release upon current supply
6.1.2. Manual release