EasyManua.ls Logo

RMG 720 - Special Features; Remote Release Upon Current Supply; Manual Release

RMG 720
24 pages
Print Icon
To Next Page IconTo Next Page
To Next Page IconTo Next Page
To Previous Page IconTo Previous Page
To Previous Page IconTo Previous Page
Loading...
313 / 314
316
311
313 / 314
313 / 314
315
311 / 312
720.20 S.20
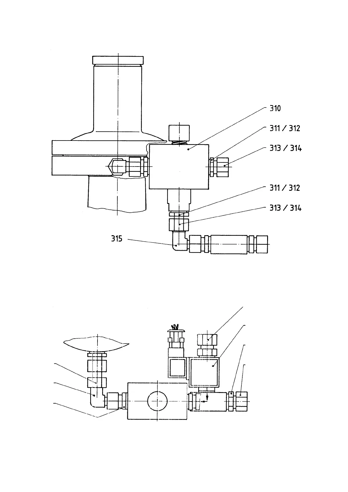
6.1.3. Remote release and manual release upon current supply
remote release
manual release