EasyManua.ls Logo

Robin RGX5500 - Page 28

Robin RGX5500
94 pages
Print Icon
To Next Page IconTo Next Page
To Next Page IconTo Next Page
To Previous Page IconTo Previous Page
To Previous Page IconTo Previous Page
Loading...
l
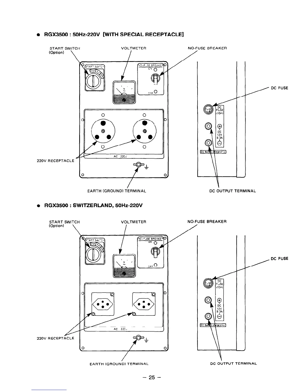
RGX3500 : 50Hz-220V WITH SPECIAL RECEPTACLE]
START SW11
(Option) \
22OV RECEPTACLE
VOLTMETER
/
EARTH (GROUND) TERMINAL
l
RGX3500 : SWITZERLAND, 50Hz-220V
START SWITCH
(Option)
\
VOLTMETER
I
A
220V RECEPTACLE
) ,P J
NO-FUSE BREAKER
/
C
/
/
,
C
/ DC
FUSE
DC OUTPUT TERMINAL
NO-FUSE BREAKER
EARTH (GROUND) TERMINAL
DC OUTPUT TERMINAL
- 25 -

Related product manuals