EasyManua.ls Logo

Robin RGX5500 - Page 92

Robin RGX5500
94 pages
Print Icon
To Next Page IconTo Next Page
To Next Page IconTo Next Page
To Previous Page IconTo Previous Page
To Previous Page IconTo Previous Page
Loading...
l
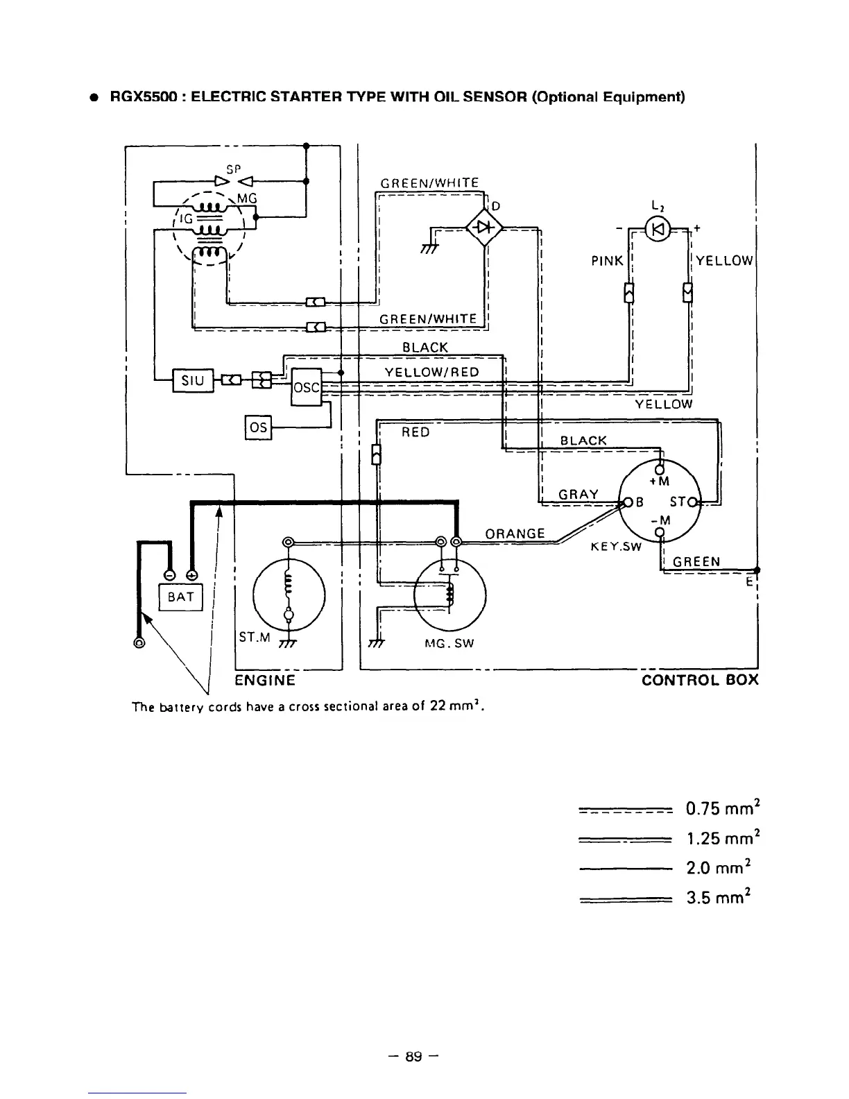
RGX5500 : ELECTRIC STARTER TYPE WITH OIL SENSOR (Optional Equipment)
SIU
YELLOW/RED
YELLOW
I--- I
--
ENGINE t-0-
\
I
The battery cords have a cross sectional area of 22 mm’.
I
The battery cords have a cross sectional area of 22 mm’.
-__------
0.75 mm2
--~
1.25
mm2
2.0 mm2
3.5 mm2
- 89 -

Related product manuals