EasyManua.ls Logo

Roper RT14BKXJW00 - Inversion du Sens Douverture des Portes

Roper RT14BKXJW00
46 pages
Print Icon
To Next Page IconTo Next Page
To Next Page IconTo Next Page
To Previous Page IconTo Previous Page
To Previous Page IconTo Previous Page
Loading...
31
Style 1
1. Bride du tube
2. Tube en cuivre
3. Écrou de compression
4. Entrée d’eau de la valve
Style 2
1. Bride du tube
2. Écrou en cuivre
3. Bague de compression
3. La machine à glaçons est équipée d’un filtre à eau
incorporé. Si la qualité de l’eau distribuée localement
nécessite un nettoyage périodique, ou si l’eau qui
alimente l’appareil provient d’un puits, il serait utile
d’installer un deuxième filtre dans le tube de
raccordement de ¹⁄₄ po. On peut obtenir un tel filtre à
eau chez le marchand d’appareils électroménagers le
plus proche. Installer le filtre au niveau de n’importe
laquelle des connexions du tube de raccordement.
4. Brancher le réfrigérateur ou reconnecter la source de
courant électrique.
Inversion du sens d’ouverture des
portes
OUTILS REQUIS :
Clé à douille hexagonale de ⁵⁄₁₆ po, tournevis Phillips N° 2,
tournevis à lame plate, clé à bout ouvert de ¹⁄₂ po, couteau
à mastic plat de 2 po .
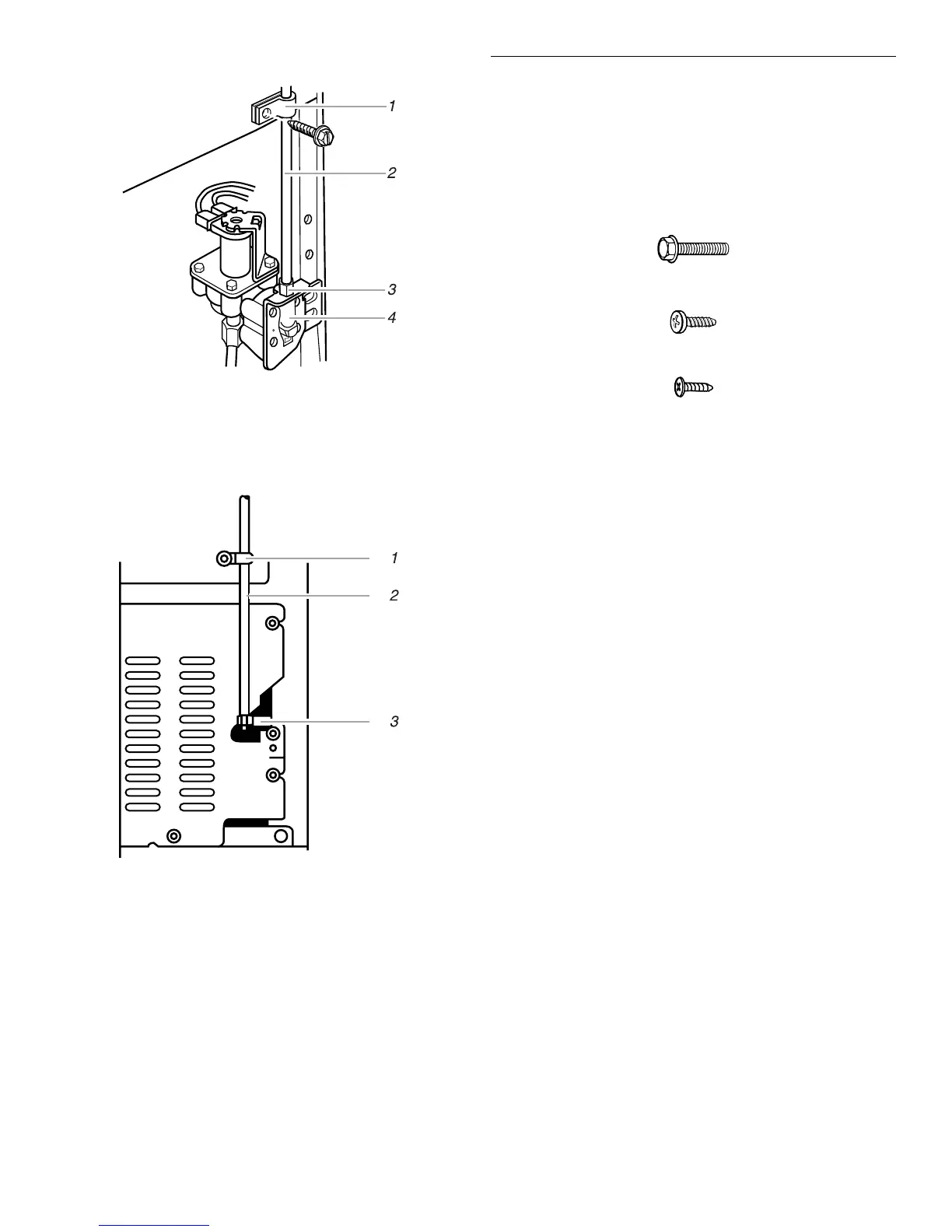
Vis hexagonale de ⁵⁄₁₆ po de charnières
Vis d’arrêt de porte
Vis de fixation (sommet de portes)
SUGGESTION : L’inversion du sens d’ouverture des
portes devrait être exécutée par une personne qualifiée.
IMPORTANT : Avant de commencer, tourner l’interrupteur
du réfrigérateur à OFF (ARRÊT), le débrancher et enlever
tout aliment des tablettes dans la porte.
Pour enlever les portes des charnières :
1. Garder les portes fermées jusqu’au moment où elles
sont prêtes à être enlevées du cabinet.
2. Commencer à la charnière supérieure puis descendre
vers la charnière centrale et la charnière inférieure.
Enlever toutes les vis et tous les composant tel
qu’indiqué.
3. Ouvrir et soulever les portes des charnières.
REMARQUE : Si on inverse le sens d´ouverture des
portes, on devrait déplacer les poignées alors que les
portes sont enlevées du réfrigérateur. Suivre les
instructions à la section “Inversion des poignées de porte”.
Pour réinstaller les portes sur les charnières :
1. Ôter les bouchons couvrant les trous des vis au côté
opposé du réfrigérateur, en utilisant un couteau à
mastic plat.
2. Réinstaller les portes.
3. Commencer par la charnière inférieure et monter vers
la charnière centrale et la charnière supérieure en
remplaçant tous les composants et vis tel qu’indiqué.
4. Aligner les portes de telle sorte qu’elles soient centrées
entre les côtés du cabinet et parallèles l’une à l’autre.
5. Fermer toutes les ouvertures inutilisées avec des vis ou
des bouchons de plastique. L’humidité pénétrera par
toute ouverture laissée ouverte.
REMARQUE : Si les portes ne ferment pas d’elles-
mêmes, voir la section “Fermeture et alignement des
portes”.

Table of Contents

Related product manuals