EasyManua.ls Logo

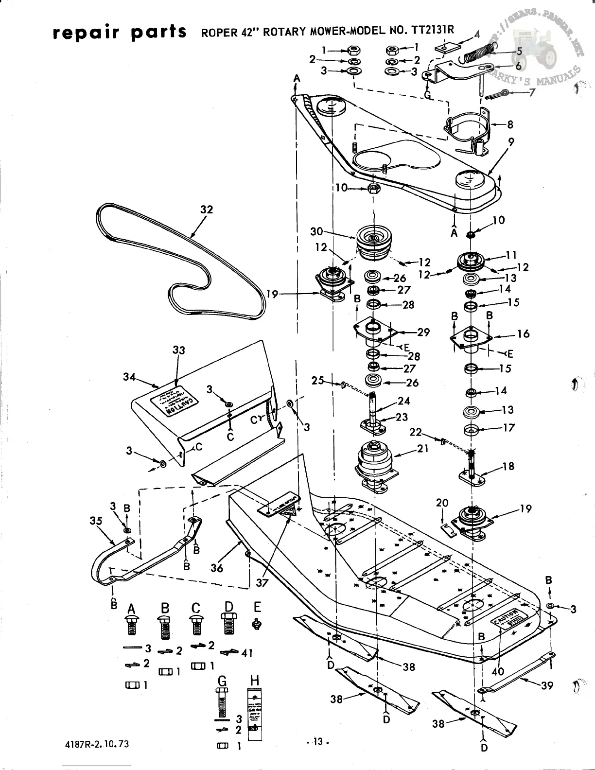
Roper TT2131R - Mower Repair Parts List

Roper TT2131R
19 pages
Print Icon
To Next Page IconTo Next Page
To Next Page IconTo Next Page
To Previous Page IconTo Previous Page
To Previous Page IconTo Previous Page
Loading...