EasyManua.ls Logo

Ruijie Reyee RG-RAP6262 Series

Ruijie Reyee RG-RAP6262 Series
18 pages
To Next Page IconTo Next Page
To Next Page IconTo Next Page
To Previous Page IconTo Previous Page
To Previous Page IconTo Previous Page
Loading...
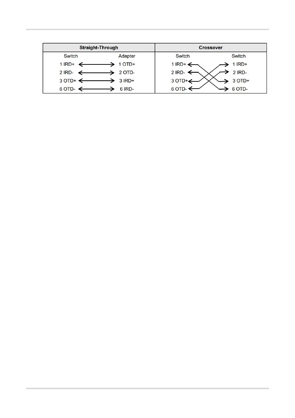
Hardware Installation Guide and Reference Appendix A Connectors and Media
15
Figure 4-3 100BASE-TX/10BASE-T Connection

Related product manuals