EasyManua.ls Logo

Russell Hobbs RH75GH601SS

Russell Hobbs RH75GH601SS
28 pages
To Next Page IconTo Next Page
To Next Page IconTo Next Page
To Previous Page IconTo Previous Page
To Previous Page IconTo Previous Page
Loading...
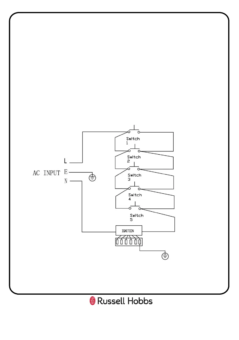
Installation
If there is no suitable circuit and a fused switch, they must be installed
by a qualified electrician before the hob is connected.
Do not use adaptors, multiple sockets and/or extension leads.
During installation, please ensure that insulated cables are used. An incorrect
connection might damage your appliance and will void the manufacturer’s
guarantee.
All repairs must be carried out by an authorised service personal or a
qualified electrician.
Switch off/isolate your appliance before each maintenance.
11

Related product manuals