EasyManua.ls Logo

Ryobi A18MS01 - Assembly; Preparing the Stand

Ryobi A18MS01
12 pages
Print Icon
To Next Page IconTo Next Page
To Next Page IconTo Next Page
To Previous Page IconTo Previous Page
To Previous Page IconTo Previous Page
Loading...
4 5
Fig. 2
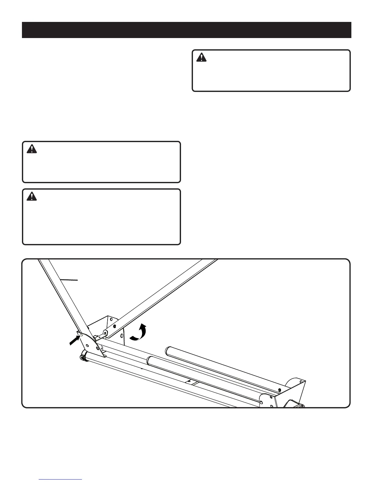
PREPARING THE STAND
See Figure 2.
n Lay the stand’s top surface down on the floor with the
folded legs on top.
n Push in a leg locking pin and rotate that leg up until the
locking pin clicks into place.
n Repeat with the remaining three legs.
n Lift the stand and place it in an upright position.
n Check to ensure the stand is stable and all the legs have
the locking pins engaged.
LOCKING
PIN
LEG
ASSEMBLY
UNPACKING
This product requires some assembly.
n Carefully remove the tool and any accessories from the
box. Make sure that all items listed in the packing list are
included.
n Inspect the tool carefully to make sure no breakage or
damage occurred during shipping.
n Do not discard the packing material until you have care-
fully inspected and satisfactorily operated the tool.
n If any parts are damaged or missing, please call
1-800-525-2579 for assistance.
WARNING:
If any parts are missing do not operate this tool until the
missing parts are replaced. Failure to do so could result
in possible serious personal injury.
WARNING:
Do not attempt to modify this tool or create accesso-
ries not recommended for use with this tool. Any such
alteration or modification is misuse and could result in a
hazardous condition leading to possible serious personal
injury.
WARNING:
Do not connect to power supply until assembly is
complete. Failure to comply could result in accidental
starting and possible serious personal injury.
PACKING LIST
Miter Saw Stand
Saw Mounting Brackets (2)
Work Supports (2)
Work Support Mounting Brackets (2)
Work Stops (2)
Extension Adjustment Knobs (M8 x 25 mm) (2)
Length Adjustment Knobs (M8 x 15 mm) (2)
Height Adjustment Knobs (M8 x 15 mm) (2)
Work Stop Adjustment Knobs (2)
Carriage Bolts (M6 x 60 mm) (2)
Carriage Bolts (5/16 in. x 2 in.) (4)
Flat Washers (4)
Lock Washers (4)
Nuts (4)
Operator’s Manual
Warranty Registration Card

Other manuals for Ryobi A18MS01

Related product manuals