EasyManua.ls Logo

Ryobi ONE+ PCL201 - PCL201_307_artwork

Ryobi ONE+ PCL201
24 pages
Print Icon
To Next Page IconTo Next Page
To Next Page IconTo Next Page
To Previous Page IconTo Previous Page
To Previous Page IconTo Previous Page
Loading...
10
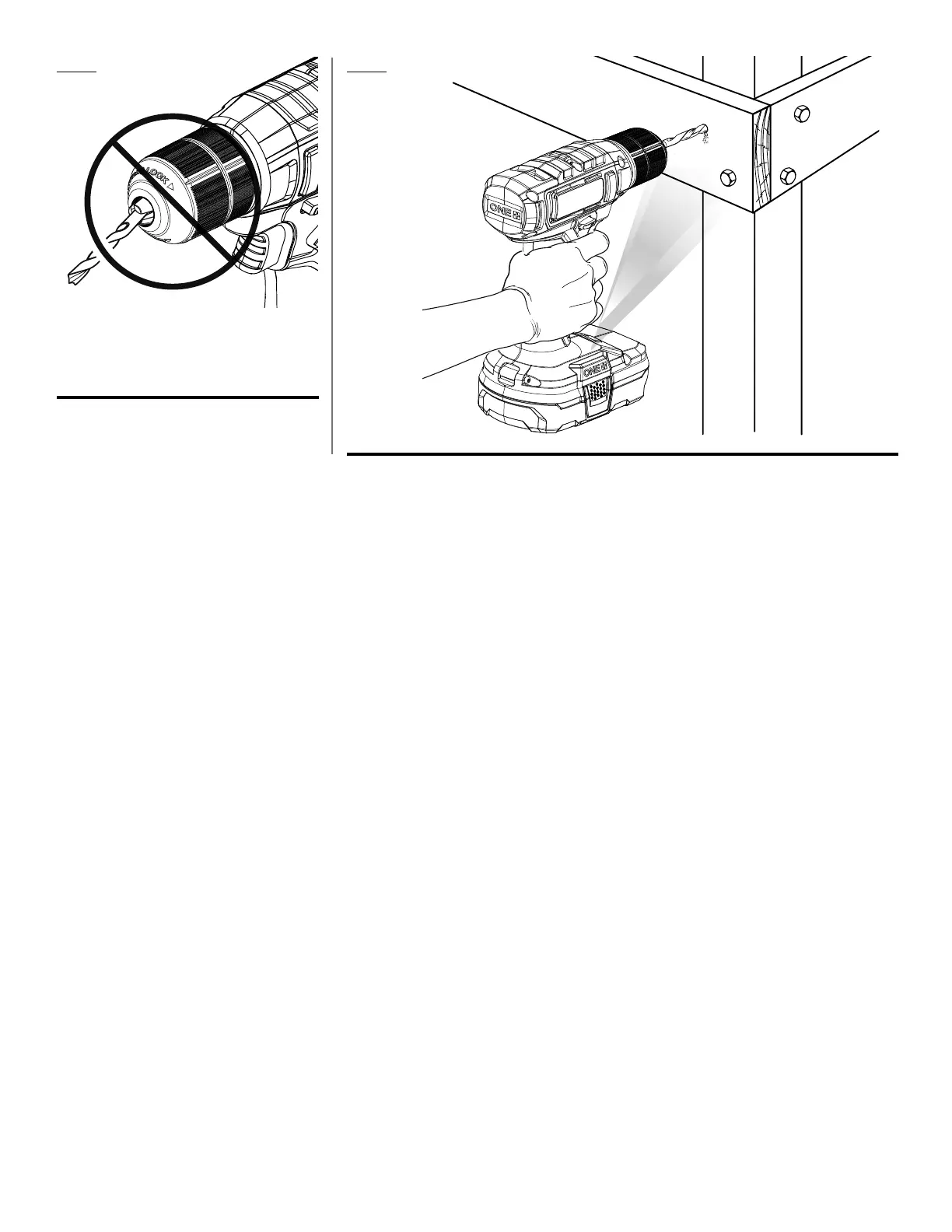
Fig. 5
WRONG / INCORRECT /
FORMA INCORRECTA
Fig. 4
CORRECT GRIP
PRISE CORRECT
SUJETAR CORRECTA