EasyManua.ls Logo

Ryobi RBV36B-0 - Page 102

Ryobi RBV36B-0
184 pages
Print Icon
To Next Page IconTo Next Page
To Next Page IconTo Next Page
To Previous Page IconTo Previous Page
To Previous Page IconTo Previous Page
Loading...
100 | Latviski
RISKA SAMAZINĀŠANA
Ir ticis ziņots, ka vibrācijas no rokas instrumentiem
atsevišķos cilvēkos var veicināt kaiti, ko sauc par Reino
sindromu. Simptomi var ietvert pirkstu tinkšķēšanu,
nejutīgumu un nobālēšanu, parasti aukstā laikā. Tiek
uzskatīts, ka tradicionālie faktori, aukstums un mitrums,
uzturs, smēķēšana un darba prakse sekmē šo simptomu
attīstību. Operators var veikt pasākumus, lai iespējami
samazinātu vibrācijas efektu:
Aukstā laikā ķermenim jābūt siltam. Darbinot ierīci,
nēsājiet cimdus, lai rokas un plaukstas locītavas būtu
siltas.
Ik pēc laika apturiet darbu un veiciet vingrinājumus, kas
uzlabo asins cirkulāciju.
Strādājot jābūt biežiem pārtraukumiem. Ierobežojiet
iedarbības ilgumu dienā.
Ja jūs izjūtat kādu no šiem simptomiem, nekavējoties
apturiet ierīces lietošanu un sazinieties ar ārstu par
šiem simptomiem.
BRĪDINĀJUMS
Ilgstoša preces lietošana var radīt ievainojumus
vai pasliktināt jau esošos. Ilgstoši lietojot jebkuru
instrumentu, pārliecinieties, ka tiek veikti regulāri
pārtraukumi.
PAZĪSTIET SAVU IERĪCI
Skatīt 147 lappusi.
1. Ventilatora aizsargs
2. Augšējā iesūkšanas caurule.
3. Apakšējā iesūkšanas caurule.
4. Papildus riteņi
5. Liela ātruma sprausla
6. Apakšējā pūšanas caurule.
7. Augšējā pūšanas caurule.
8. Gružu savākšanas maiss
9. Somas adapters
10. Pūšanas/vakuuma režīma pārslēgšanas svira
11. Priekšējais rokturis
12. Plecu siksna
13. Kruīza kontrole
14. Aizmugurējais rokturis
15. Slēdzis “ieslēgšana”/“apturēšana”
16. Sprosttapa
17. Bīdāmais slēdzis
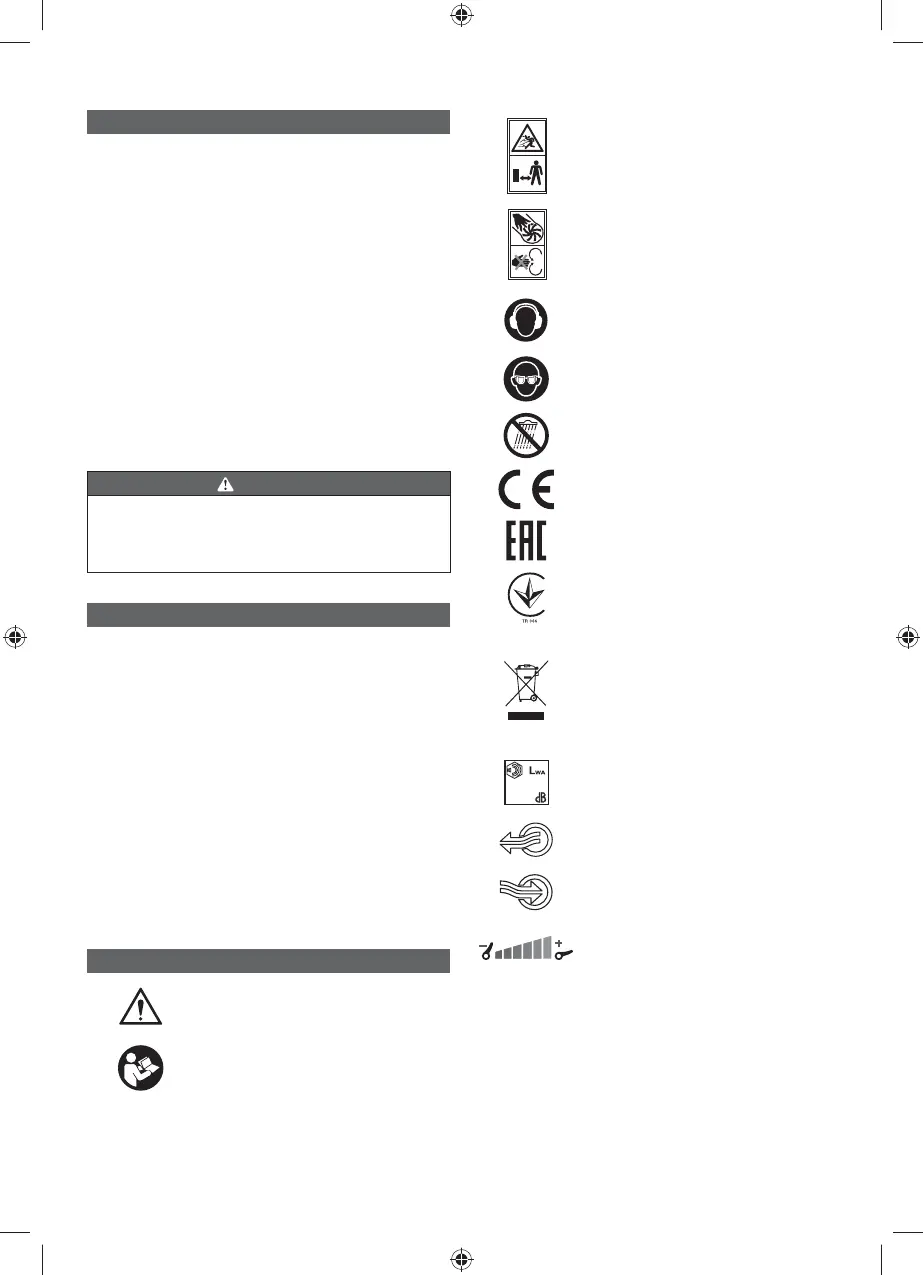
UZ PRECES ESOŠIE SIMBOLI
Drošības brīdinājums
Pirms preces darbināšanas izlasiet un
izprotiet visus norādījumus, ievērojiet
visus brīdinājumus un drošības
norādījumus.
Sargieties no izmestiem vai lidojošiem
priekšmetiem. Rūpējieties, lai visi
tuvumā stāvošie, īpaši bērni un
dzīvnieki atrastos vismaz 15 m
attālumā no darba zonas
Rotējoši ventilatori. Kamēr ierīce
darbojas, turiet rokas un kājas prom no
spraugām.
Lietojiet dzirdes aizsargus
Valkājiet acu aizsargaprīkojumu
Nepakļaujiet lietum vai mitriem
apstākļiem.
Darbarīks atbilst visām normām ES
valstī, kurā tas ir iegādāts.
EurAsian atbilstības marķējums
Ukrainas apstiprinājuma zīme
Izlietotie elektroprodukti nedrīkst tikt
izmesti kopā ar mājsaimniecības
atkritumiem. Lūdzu, nododiet tos
attiecīgajās atk ār totas izmantošanas
vietās. Sazinieties ar savu vietējo varas
pārstāvi vai izplatītāju, lai noskaidrotu,
kur iespējama atkārtota pārstrāde.
104
Garantētais skaņas jaudas līmenis ir
104 dB.
Pūšanas režīms
Iesūkšanas režīms
Kruīza kontrole

Table of Contents

Related product manuals