EasyManua.ls Logo

Ryobi RLT3525 - Zbytková Rizika; Symboly Na Výrobku

Ryobi RLT3525
144 pages
Print Icon
To Next Page IconTo Next Page
To Next Page IconTo Next Page
To Previous Page IconTo Previous Page
To Previous Page IconTo Previous Page
Loading...
56 | Čeština
Zkontrolujte všechny šrouby, matice v častých
intervalech na řádné utažení, aby se zajistilo, že
výrobek bude pracovat v bezpečných pracovních
podmínkách.
ZBYTKOVÁ RIZIKA
Dokonce, i když se výrobek provozuje jak je předepsáno, je
stále nemožné zcela eliminovat veškeré zbytkové rizikové
faktory. Následující nebezpečí mohou nastat při používání;
vyhýbejte se:
Poranění způsobené vibracemi.
Držte výrobek za rukojetě určené k držení a práci
provádějte po omezenou dobu.
Poškození sluchu způsobeného expozicí hluku.
Noste ochranu sluchu a omezte vystavení.
Poranění zraku odletujícím materiálem.
Vždy noste adekvátní ochranu zraku.
SNÍŽENÍ RIZIKA
Bylo zjištěno, že vibrace z ručních pracovních nástrojů
mohou u některých osob přispívat ke stavu tzv. Raynaud’s
Syndrome (Raynaudovu syndromu). Mezi jeho příznaky
patří brnění, necitlivost a zběleni prstů, patrné obvykle po
pobytu v chladu. Vědci se domnívají, že k rozvinutí těchto
příznaků přispívají dědičné faktory, pobyt v chladu a vlhku,
strava, kouření a pracovní návyky. Uživatel může omezit
případné působení vibrací použitím vhodných opatření:
Za chladného počasí se teple oblečte. Při práci
s výrobkem si navlékněte rukavice, abyste udrželi ruce
a zápěstí v teple. Bylo zjištěno, že chladné počasí je
hlavním faktorem přispívajícím k Raynaud’s Syndrome
(Raynaudovu syndromu).
Během práce si v pravidelných intervalech zacvičte,
abyste zvýšili krevní oběh.
Zařazujte časté pracovní přestávky. Omezte dobu
práce za den.
Jakmile pocítíte některý z výše uvedených příznaků tohoto
syndromu, okamžitě přerušte práci a vyhledejte lékaře.
VAROVÁNÍ
Poranění mohou být způsobena, či zhoršena,
prodlouženým používáním nástroje. Když používáte
jakýkoliv nástroj delší dobu, dělejte pravidelně přestávky.
POZNEJTE SVŮJ NÁSTROJ
Viz strana 104.
1. Spoušť (ZAP/VYP)
2. Háček zavěšení kabelu
3. Úchyt napájecího kabelu
4. Tlačítko pro sekání okrajů trávníku
5. Kryt cívky
6. Cívka
7. Řezací nůž struny
8. Žací struna
9. Ochranný kryt
10. Spodní tyč
11. Horní tyč
12. Přední rukojeť
13. Zadní rukojeť
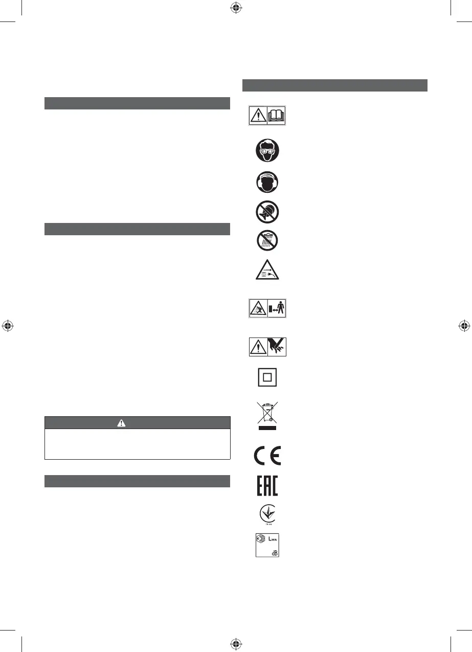
SYMBOLY NA VÝROBKU
Řádně si návod přečtěte, porozumějte
veškerým pokynům a dodržujte všechny
bezpečnostní pokyny a bezpečnostní
varování.
Noste ochranu očí
Noste ochranu sluchu.
Nepoužívejte na výrobku kovové
nože(nůž).
Nevystavujte dešti nebo nepoužívejte ve
vlhkých podmínkách.
Vyndejte ihned zástrčku z elektrické
zásuvky, jakmile zjistíte poškození,
pořezání nebo zamotání.
Dávejte pozor na odmrštěné nebo
odletující předměty. Všechny přihlížející,
zvláště děti a zvířata udržujte ve
vzdálenosti alespoň 15m od pracovní
oblasti.
Udržujte ruce mimo nože.
Zařízení třídy II, dvojitě izolováno
Odpad elektrických výrobků se nesmí
likvidovat v domovním odpadu.
Recyklujte prosím na sběrných místech.
Ptejte se u místních úřadů nebo
prodejce na postup při recyklaci.
Toto nářadí je v souladu se všemi
normami a předpisy platnými v zemi EU,
ve které bylo zakoupeno.
Euroasijská značka shody
Ukrajinská značka shody
96
Zaručená hladina akustického výkonu
je 96 dB.
Následující signální slova a významy jsou vhodné pro
vysvětlení úrovní nebezpečí spojených s tímto výrobkem.

Table of Contents