EasyManua.ls Logo

Ryobi RY36LT33A-0 - Kvarstående Risker; Symboler På Produkten

Ryobi RY36LT33A-0
156 pages
Print Icon
To Next Page IconTo Next Page
To Next Page IconTo Next Page
To Previous Page IconTo Previous Page
To Previous Page IconTo Previous Page
Loading...
36 | Svenska
VARNING
Att serva produkten kräver extrem försiktighet och
kunskap och bör endast utföras av en kvali cerad
servicetekniker. Produkten får endast repareras på ett
auktoriserat servicecenter. Under servicearbete ska
enbart tillverkarens originaldelar användas.
Slå från och ta bort batterierna innan du utför något
underhålls- eller rengöringsarbete.
Du får enbart göra justeringar eller reparationer som
nämns i denna manual. För andra reparationer eller för
råd ska du alltid vända till auktoriserat servicecenter.
Använd enbart den specificerade nylontråden (finns i
specifikationstabell i denna manual) vid utbyte.
När ny skärtråd är ute ska maskinen tillbaka i normalt
arbetsläge innan den startas.
Efter rengöring ska maskinen alltid rengöras med en
mjuk torr trasa. Skadade delar skall repareras ordentligt
eller bytas ut av en auktoriserad servicefirma.
Kontrollera alla muttrar, bultar och skruvar före
varje användning och med täta intervall, så att de är
ordentligt åtdragna och så att produkten är i säkert
skick för användning. Skadade delar skall repareras
ordentligt eller bytas ut av en auktoriserad servicefirma.
Lämna produkten till auktoriserat servicecenter för
utbyte av skadade eller oläsbara etiketter.
KVARSTÅENDE RISKER
Även om produkten används enligt instruktionerna går det
inte att eliminera alla eventuella kvarstående riskfaktorer.
Följande risker kan uppstå vid användning och operatören
ska vara extra uppmärksam för att undvika följande:
Skada orsakad av vibration
Håll produkten i de avsedda handtagen och
begränsa arbetstid och exponering.
Skador orsakade av damm
Använd hörselskydd och begränsa exponeringen
Olycka orsakad av flygande skräp.
Använd alltid lämpligt ögonskydd.
RISKMINSKNING
Det nns rapporter om att vibrationer från handhållna
verktyg kan bidra till ett tillstånd som kallas Raynauds
syndrom för vissa personer. Symptomen brukar vara att
det sticker i ngrarna och att de domnar bort; ngrarna kan
också bli vita, särskilt vid kyla. Ärftliga faktorer, kyla och fukt,
diet, rökning och arbetsrutiner tros alla bidra till att orsaka
dessa symptom. Det nns förebyggande åtgärder som du
kan vidta för att försöka minska vibrationernas påverkan:
Håll dig varm när du arbetar i kallt väder. Använd
handskar för att hålla händer och handleder varma
under användning. Kyla har rapporterats som en viktig
del i utvecklandet av Raynauds syndrom.
Träna och rör på dig efter varje användningstillfälle för
att öka blodcirkulationen.
Ta ofta pauser från arbetet. Begränsa tiden du utsätter
dig varje dag.
Upphör omedelbart om du upplever några av dessa
symptom och uppsök din läkare.
VARNING
Risk för person- eller slitageskador vid användning av
verktyget under lång tid. Om verktyget används under
längre perioder krävs regelbundna pauser.
LÄR KÄNNA PRODUKTEN
Se sida 109.
Delar
1. Anslutning till batteriet
2. Bakre handtag
3. Låsutlösare
4. Reglage för variabel hastighet
5. Batteriladdare
6. Kabel till laddare
7. Batteri
8. Knapp för batterispärr
9. Rullens kåpa
10. Rulle
11. Skärtråd
12. Avskärare för tråd
13. Gräsavvisare
14. Nedre skaft
15. Främre handtag
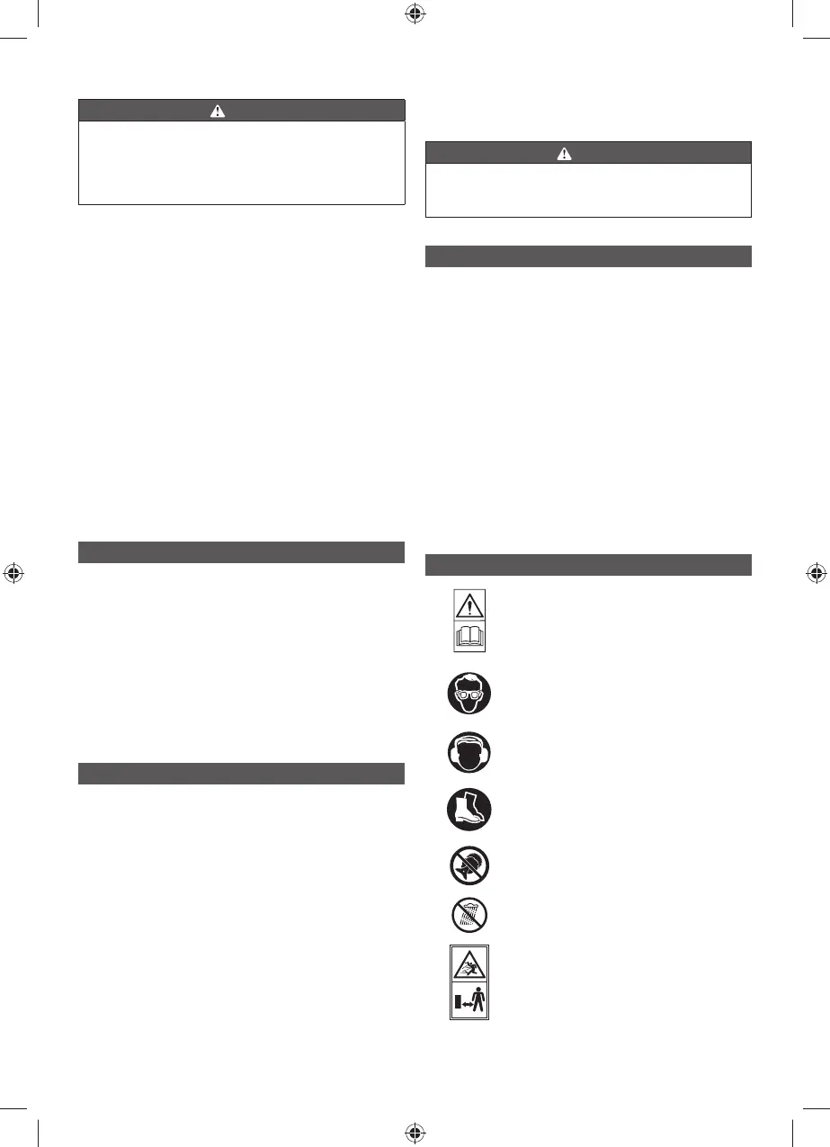
SYMBOLER PÅ PRODUKTEN
Läs och se till att du förstår alla
anvisningar innan du använder
produkten. Följ alla varningar och
säkerhetsanvisningar.
Bär ögonskydd
Använd hörselskydd
Bär halkskyddade säkerhetsskor när du
använder produkten.
Använd inte metallblad för produkten.
Utsätt inte för regn eller våta
omgivningar.
Se upp för kringkastade eller ygande
föremål. Håll alla åskådare, särskilt barn
och husdjur, på minst 15 meters avstånd
från arbetsområdet.

Table of Contents

Related product manuals