EasyManua.ls Logo

Saab 2001 9-3 - Page 101

Saab 2001 9-3
260 pages
Print Icon
To Next Page IconTo Next Page
To Next Page IconTo Next Page
To Previous Page IconTo Previous Page
To Previous Page IconTo Previous Page
Loading...
101Saab 9-3 Audio System
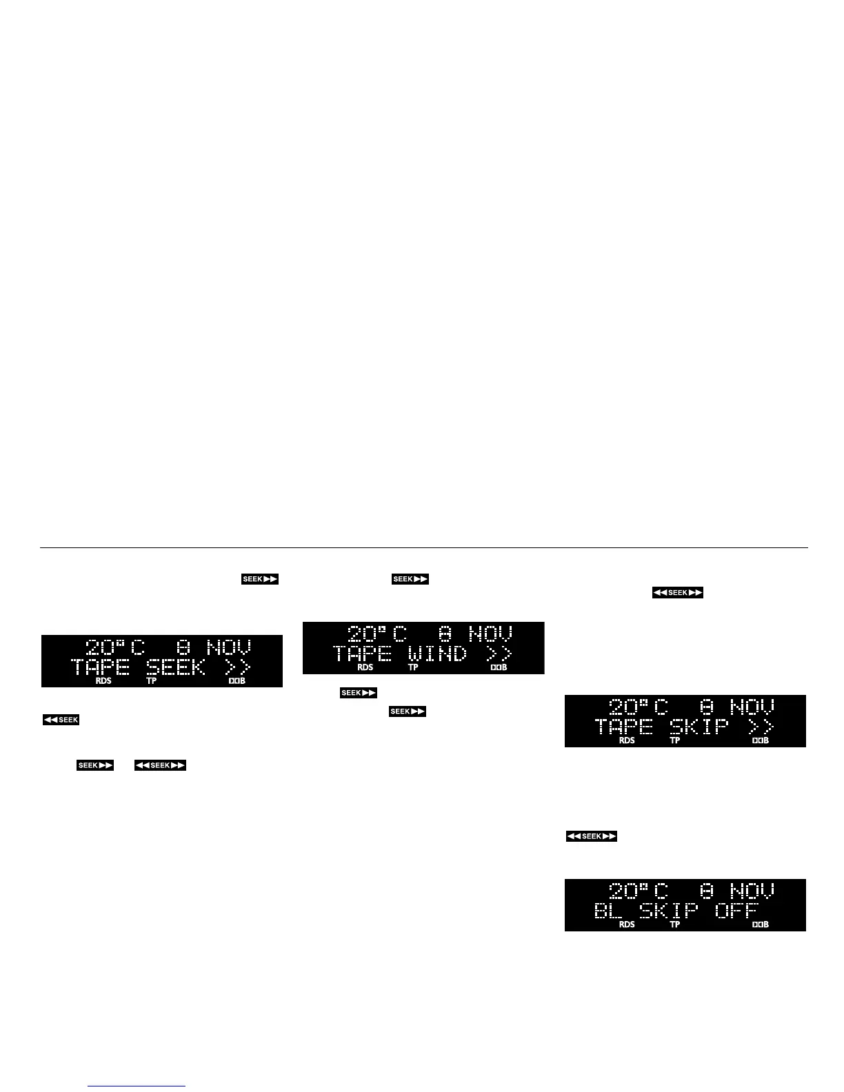
Music search forward/reverse (5)
To search forward for a track, press
and release quickly (within half a second).
The following will now appear on the dis-
play:
To perform a backward search, press
instead.
A forward search will continue until a gap of
at least 4 seconds is found, or until you
press or (mid-segment).
Pressing and holding the button during a
search will initiate the fast-forward function.
Fast forward/rewind
Press and hold to start fast-
forward to the end of the tape. The following
will now appear on the display:
Press once to cancel fast-forward.
Press and hold until a chime sounds
to switch to music search.
Fast rewind (<< WIND) is performed in the
same way as fast forward.
Auto music search (Blank skip)
To switch the Blank-skip function ON/OFF,
press and hold (mid-segment).
When the Blank-skip function is active (dis-
play: BL SKIP ON), unrecorded gaps that
are longer than 15 seconds will automati-
cally be skipped.
When auto music search is in progress, the
following will show on the display:
If a track has been recorded at an unusually
low level and is therefore identified incor-
rectly as a gap between tracks, it could ini-
tiate a spurious “auto music search".
To cancel such a search, press and hold
(mid-segment) during playback.
The following will now appear on the dis-
play:

Table of Contents

Related product manuals